TEKNOMEGA
| Leveys | 9 mm |
|---|---|
| Paino | 0,5 kg |
| Paksuus | 0,8 mm |
| Pituus | 2000 mm |
| Poikkipinta-ala | 21,6 mm² |
|---|---|
| Virta lämpötilassa ΔT 30°C | 180 A |
| Virta lämpötilassa ΔT 50°C | 140 A |
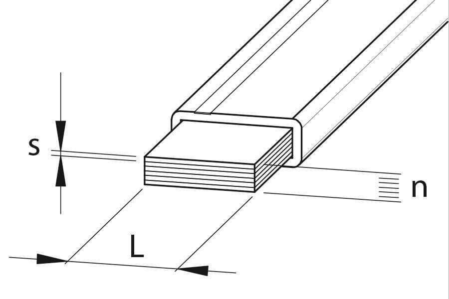
Teknomega tarjoaa laajan valikoiman taivutettavia virtakiskoja, jotka on valmistettu kupariliuskoista. Niiden erinomainen taipuisuus, suuri virrankesto sekä eristeen kaksivärinen viimeistely tekevät niistä erinomaisen valinnan kaapelien korvaajaksi.
Standardipituus kiskoille on 2-3 metriä ja ne ovat saatavilla valmiiksi taivutettuna ja rei'itettynä asiakkaan piirustusten mukaan. Eristeessä kaksivärinen viimeistely, johon saatavailla eri värejä.
Partex PKS Edge Clip on erinomainen valinta aurinkopaneeliasennuksiin! Kaapelikiinnikkeet tarjoavat nopean ja helpon kaapeliasennuksen ilman nippusiteitä.
Wöhner kehittää ja valmistaa modulaarisia virtakiskojärjestelmiä, jotka tehostavat automaatio- ja sähkökeskusten suunnittelua ja valmistusta. Kansainväliset vaatimukset täyttävät ja UL-hyväksynnän saaneet tuotteet mahdollistavat Wöhnerin järjestelmien käytön globaalisti.
Lumelin virtamuuntaja valikoima tarjoaa useita eri runkokokoja, ensiövirtoja ja tarkkuusluokkia.
Sähkö–Electricity 26 on uusi kansainvälinen sähköalan ammattitapahtuma, joka kattaa koko toimialan. Tule käymään ja katso mitä osastoltamme 7g120 löytyy!
Ratkaisimme jatkuvat relehaasteet korkealaatuisen koneenrakennusteräksen valmistajan Ovakon tehtaassa. Lue jutustamme miten se tehtiin!
Uusi F-kaasuasetus (EU) 2024/573 muuttaa jäähdytys- ja ilmastointijärjestelmien edellytyksiä teollisissa sovelluksissa. Tiukennetut vaatimukset fluoratuille kasvihuonekaasuille tarkoittavat, että monet nykyiset ratkaisut poistetaan asteittain käytöstä – samalla kun väärän teknologian valinta voi tulla kalliiksi tulevaisuudessa.
|
|
|
|
|
|
||
|---|---|---|---|---|---|---|
|
|
|
|
|
|
||
|
|
|
|
|
|
||
|
|
|
|
|
|
||
|
|
|
|
|
|
||
|
|
|
|
|
|
||
|
|
|
|
|
|
| Suosikit | Tilausnumero: | Leveys | Paino | Paksuus | Pituus | Poikkipinta-ala | Virta lämpötilassa ΔT 30°C | Virta lämpötilassa ΔT 50°C | Hinta | |
|---|---|---|---|---|---|---|---|---|---|---|
|
Taipuisa virtakisko CFX 3X9X0,8
Tuotenumero:
CFX1005
Kopioitu!
|
9 mm
|
0,5 kg
|
0,8 mm
|
2000 mm
|
21,6 mm²
|
180 A
|
140 A
|
|
||
|
Taipuisa virtakisko CFX 6X9X0,8
Tuotenumero:
CFX1020
Kopioitu!
|
9 mm
|
0,9 kg
|
0,8 mm
|
2000 mm
|
43,2 mm²
|
194 A
|
250 A
|
|
||
|
Taipuisa virtakisko CFX 9X9X0,8
Tuotenumero:
CFX1021
Kopioitu!
|
9 mm
|
1,3 kg
|
0,8 mm
|
2000 mm
|
64,8 mm²
|
217 A
|
280 A
|
|
||
|
Taipuisa virtakisko CFX 3X13X0,5
Tuotenumero:
CFX1022
Kopioitu!
|
13 mm
|
0,45 kg
|
0,5 mm
|
2000 mm
|
19,5 mm²
|
132 A
|
170 A
|
|
||
|
Taipuisa virtakisko CFX 6X13X0,5
Tuotenumero:
CFX1023
Kopioitu!
|
13 mm
|
0,91 kg
|
0,5 mm
|
2000 mm
|
39 mm²
|
194 A
|
250 A
|
|
||
|
Taipuisa virtakisko CFX 10X13X0,5
Tuotenumero:
CFX1024
Kopioitu!
|
13 mm
|
1,1 kg
|
0,5 mm
|
2000 mm
|
65 mm²
|
256 A
|
330 A
|
|
||
|
Taipuisa virtakisko CFX 2X15,5X0,8
Tuotenumero:
CFX1025
Kopioitu!
|
15,5 mm
|
0,68 kg
|
0,8 mm
|
2000 mm
|
24,8 mm²
|
159 A
|
205 A
|
|
||
|
Taipuisa virtakisko CFX 4X15,5X08
Tuotenumero:
CFX1035
Kopioitu!
|
15,5 mm
|
1,14 kg
|
0,8 mm
|
2000 mm
|
49,6 mm²
|
248 A
|
320 A
|
|
||
|
Taipuisa virtakisko CFX 6X15,5X0,8
Tuotenumero:
CFX1045
Kopioitu!
|
15,5 mm
|
1,6 kg
|
0,8 mm
|
2000 mm
|
74,4 mm²
|
310 A
|
400 A
|
|
||
|
Taipuisa virtakisko CFX 10X15,5X0,8
Tuotenumero:
CFX1050
Kopioitu!
|
15,5 mm
|
2,52 kg
|
1 mm
|
2000 mm
|
124 mm²
|
341 A
|
440 A
|
|
||
|
Taipuisa virtakisko CFX 2X20X1
Tuotenumero:
CFX1055
Kopioitu!
|
20 mm
|
1 kg
|
1 mm
|
2000 mm
|
40 mm²
|
217 A
|
280 A
|
|
||
|
Taipuisa virtakisko CFX 3X20X1
Tuotenumero:
CFX1060
Kopioitu!
|
20 mm
|
1,37 kg
|
1 mm
|
2000 mm
|
60 mm²
|
271 A
|
350 A
|
|
||
|
Taipuisa virtakisko CFX 4X20X1
Tuotenumero:
CFX1065
Kopioitu!
|
20 mm
|
1,74 kg
|
1 mm
|
2000 mm
|
80 mm²
|
318 A
|
410 A
|
|
||
|
Taipuisa virtakisko CFX 5X20X1
Tuotenumero:
CFX1070
Kopioitu!
|
20 mm
|
2,11 kg
|
1 mm
|
2000 mm
|
100 mm²
|
333 A
|
430 A
|
|
||
|
Taipuisa virtakisko CFX 6X20X1
Tuotenumero:
CFX1075
Kopioitu!
|
20 mm
|
2,47 kg
|
1 mm
|
2000 mm
|
120 mm²
|
372 A
|
480 A
|
|
||
|
Taipuisa virtakisko CFX 8X20X1
Tuotenumero:
CFX1076
Kopioitu!
|
20 mm
|
3,21 kg
|
1 mm
|
2000 mm
|
160 mm²
|
434 A
|
560 A
|
|
||
|
Taipuisa virtakisko CFX 10X20X1
Tuotenumero:
CFX1080
Kopioitu!
|
20 mm
|
3,94 kg
|
1 mm
|
2000 mm
|
200 mm²
|
496 A
|
640 A
|
|
||
|
Taipuisa virtakisko CFX 2X24X1
Tuotenumero:
CFX1085
Kopioitu!
|
24 mm
|
1,19 kg
|
1 mm
|
2000 mm
|
48 mm²
|
271 A
|
350 A
|
|
||
|
Taipuisa virtakisko CFX 3X24X1
Tuotenumero:
CFX1090
Kopioitu!
|
24 mm
|
1,63 kg
|
1 mm
|
2000 mm
|
72 mm²
|
310 A
|
400 A
|
|
||
|
Taipuisa virtakisko CFX 4X24X1
Tuotenumero:
CFX1095
Kopioitu!
|
24 mm
|
2,07 kg
|
1 mm
|
2000 mm
|
96 mm²
|
364 A
|
470 A
|
|
||
|
Taipuisa virtakisko CFX 5X24X1
Tuotenumero:
CFX1100
Kopioitu!
|
24 mm
|
2,51 kg
|
1 mm
|
2000 mm
|
120 mm²
|
395 A
|
510 A
|
|
||
|
Taipuisa virtakisko CFX 6X24X1
Tuotenumero:
CFX1105
Kopioitu!
|
24 mm
|
2,94 kg
|
1 mm
|
2000 mm
|
144 mm²
|
442 A
|
570 A
|
|
||
|
Taipuisa virtakisko CFX 8X24X1
Tuotenumero:
CFX1110
Kopioitu!
|
24 mm
|
3,82 kg
|
1 mm
|
2000 mm
|
192 mm²
|
531 A
|
685 A
|
|
||
|
Taipuisa virtakisko CFX 10X24X1
Tuotenumero:
CFX1115
Kopioitu!
|
24 mm
|
4,7 kg
|
1 mm
|
2000 mm
|
240 mm²
|
620 A
|
800 A
|
|
||
|
Taipuisa virtakisko CFX 2X32X1
Tuotenumero:
CFX1120
Kopioitu!
|
32 mm
|
1,56 kg
|
1 mm
|
2000 mm
|
64 mm²
|
318 A
|
410 A
|
|
||
|
Taipuisa virtakisko CFX 3X32X1
Tuotenumero:
CFX1125
Kopioitu!
|
32 mm
|
2,14 kg
|
1 mm
|
2000 mm
|
96 mm²
|
380 A
|
490 A
|
|
||
|
Taipuisa virtakisko CFX 4X32X1
Tuotenumero:
CFX1130
Kopioitu!
|
32 mm
|
2,72 kg
|
1 mm
|
2000 mm
|
128 mm²
|
426 A
|
550 A
|
|
||
|
Taipuisa virtakisko CFX 5X32X1
Tuotenumero:
CFX1135
Kopioitu!
|
32 mm
|
3,3 kg
|
1 mm
|
2000 mm
|
160 mm²
|
503 A
|
650 A
|
|
||
|
Taipuisa virtakisko CFX 6X32X1
Tuotenumero:
CFX1140
Kopioitu!
|
32 mm
|
3,89 kg
|
1 mm
|
2000 mm
|
192 mm²
|
558 A
|
720 A
|
|
||
|
Taipuisa virtakisko CFX 8X32X1
Tuotenumero:
CFX1145
Kopioitu!
|
32 mm
|
5,05 kg
|
1 mm
|
2000 mm
|
256 mm²
|
674 A
|
870 A
|
|
||
|
Taipuisa virtakisko CFX 10X32X1
Tuotenumero:
CFX1150
Kopioitu!
|
32 mm
|
6,21 kg
|
1 mm
|
2000 mm
|
320 mm²
|
790 A
|
1020 A
|
|
||
|
Taipuisa virtakisko CFX 2X40X1
Tuotenumero:
CFX1155
Kopioitu!
|
40 mm
|
1,93 kg
|
1 mm
|
2000 mm
|
80 mm²
|
356 A
|
460 A
|
|
||
|
Taipuisa virtakisko CFX 3X40X1
Tuotenumero:
CFX1160
Kopioitu!
|
40 mm
|
2,66 kg
|
1 mm
|
2000 mm
|
120 mm²
|
442 A
|
570 A
|
|
||
|
Taipuisa virtakisko CFX 4X40X1
Tuotenumero:
CFX1165
Kopioitu!
|
40 mm
|
3,38 kg
|
1 mm
|
2000 mm
|
160 mm²
|
503 A
|
650 A
|
|
||
|
Taipuisa virtakisko CFX 5X40X1
Tuotenumero:
CFX1170
Kopioitu!
|
40 mm
|
4,1 kg
|
1 mm
|
2000 mm
|
200 mm²
|
600 A
|
775 A
|
|
||
|
Taipuisa virtakisko CFX 6X40X1
Tuotenumero:
CFX1175
Kopioitu!
|
40 mm
|
4,83 kg
|
1 mm
|
2000 mm
|
240 mm²
|
670 A
|
865 A
|
|
||
|
Taipuisa virtakisko CFX 8X40X1
Tuotenumero:
CFX1180
Kopioitu!
|
40 mm
|
6,27 kg
|
1 mm
|
2000 mm
|
320 mm²
|
802 A
|
1035 A
|
|
||
|
Taipuisa virtakisko CFX 10X40X1
Tuotenumero:
CFX1185
Kopioitu!
|
40 mm
|
7,72 kg
|
1 mm
|
2000 mm
|
400 mm²
|
912 A
|
1178 A
|
|
||
|
Taipuisa virtakisko CFX 3X50X1
Tuotenumero:
CFX1190
Kopioitu!
|
50 mm
|
202 kg
|
1 mm
|
2000 mm
|
150 mm²
|
456 A
|
589 A
|
|
||
|
Taipuisa virtakisko CFX 4X50X1
Tuotenumero:
CFX1195
Kopioitu!
|
50 mm
|
4,2 kg
|
1 mm
|
2000 mm
|
200 mm²
|
602 A
|
777 A
|
|
||
|
Taipuisa virtakisko CFX 5X50X1
Tuotenumero:
CFX1200
Kopioitu!
|
50 mm
|
5,1 kg
|
1 mm
|
2000 mm
|
250 mm²
|
717 A
|
925 A
|
|
||
|
Taipuisa virtakisko CFX 6X50X1
Tuotenumero:
CFX1205
Kopioitu!
|
50 mm
|
6 kg
|
1 mm
|
2000 mm
|
300 mm²
|
806 A
|
1040 A
|
|
||
|
Taipuisa virtakisko CFX 8X50X1
Tuotenumero:
CFX1210
Kopioitu!
|
50 mm
|
7,8 kg
|
1 mm
|
2000 mm
|
400 mm²
|
922 A
|
1190 A
|
|
||
|
Taipuisa virtakisko CFX 10X50X1
Tuotenumero:
CFX1215
Kopioitu!
|
50 mm
|
9,61 kg
|
1 mm
|
2000 mm
|
500 mm²
|
1069 A
|
1380 A
|
|
||
|
Taipuisa virtakisko CFX 3X63X1
Tuotenumero:
CFX1220
Kopioitu!
|
63 mm
|
4,13 kg
|
1 mm
|
2000 mm
|
189 mm²
|
639 A
|
825 A
|
|
||
|
Taipuisa virtakisko CFX 4X63X1
Tuotenumero:
CFX1225
Kopioitu!
|
63 mm
|
5,27 kg
|
1 mm
|
2000 mm
|
252 mm²
|
736 A
|
950 A
|
|
||
|
Taipuisa virtakisko CFX 5X63X1
Tuotenumero:
CFX1230
Kopioitu!
|
63 mm
|
6,4 kg
|
1 mm
|
2000 mm
|
315 mm²
|
821 A
|
1060 A
|
|
||
|
Taipuisa virtakisko CFX 6X63X1
Tuotenumero:
CFX1235
Kopioitu!
|
63 mm
|
7,53 kg
|
1 mm
|
2000 mm
|
378 mm²
|
945 A
|
1220 A
|
|
||
|
Taipuisa virtakisko CFX 8X63X1
Tuotenumero:
CFX1240
Kopioitu!
|
63 mm
|
9,8 kg
|
1 mm
|
2000 mm
|
504 mm²
|
1084 A
|
1400 A
|
|
||
|
Taipuisa virtakisko CFX 10X63X1
Tuotenumero:
CFX1245
Kopioitu!
|
63 mm
|
12 kg
|
1 mm
|
2000 mm
|
630 mm²
|
1251 A
|
1615 A
|
|
||
|
Taipuisa virtakisko CFX 3X80X1
Tuotenumero:
CFX1250
Kopioitu!
|
80 mm
|
5,22 kg
|
1 mm
|
2000 mm
|
240 mm²
|
773 A
|
998 A
|
|
||
|
Taipuisa virtakisko CFX 4X80X1
Tuotenumero:
CFX1255
Kopioitu!
|
80 mm
|
6,66 kg
|
1 mm
|
2000 mm
|
320 mm²
|
891 A
|
1150 A
|
|
||
|
Taipuisa virtakisko CFX 5X80X1
Tuotenumero:
CFX1260
Kopioitu!
|
80 mm
|
8,09 kg
|
1 mm
|
2000 mm
|
400 mm²
|
991 A
|
1280 A
|
|
||
|
Taipuisa virtakisko CFX 6X80X1
Tuotenumero:
CFX1265
Kopioitu!
|
80 mm
|
9,53 kg
|
1 mm
|
2000 mm
|
480 mm²
|
1088 A
|
1405 A
|
|
||
|
Taipuisa virtakisko CFX 8X80X1
Tuotenumero:
CFX1270
Kopioitu!
|
80 mm
|
12,4 kg
|
1 mm
|
2000 mm
|
640 mm²
|
1246 A
|
1608 A
|
|
||
|
Taipuisa virtakisko CFX 10X80X1
Tuotenumero:
CFX1275
Kopioitu!
|
80 mm
|
15,3 kg
|
1 mm
|
2000 mm
|
800 mm²
|
1378 A
|
1779 A
|
|
||
|
Taipuisa virtakisko CFX 4X100X1
Tuotenumero:
CFX1280
Kopioitu!
|
100 mm
|
8,3 kg
|
1 mm
|
2000 mm
|
400 mm²
|
964 A
|
1245 A
|
|
||
|
Taipuisa virtakisko CFX 5X100X1
Tuotenumero:
CFX1285
Kopioitu!
|
100 mm
|
10,1 kg
|
1 mm
|
2000 mm
|
500 mm²
|
1189 A
|
1535 A
|
|
||
|
Taipuisa virtakisko CFX 6X100X1
Tuotenumero:
CFX1290
Kopioitu!
|
100 mm
|
11,9 kg
|
1 mm
|
2000 mm
|
600 mm²
|
1301 A
|
1680 A
|
|
||
|
Taipuisa virtakisko CFX 8X100X1
Tuotenumero:
CFX1295
Kopioitu!
|
100 mm
|
15,5 kg
|
1 mm
|
2000 mm
|
800 mm²
|
1476 A
|
1905 A
|
|
||
|
Taipuisa virtakisko CFX 10X100X1
Tuotenumero:
CFX1300
Kopioitu!
|
100 mm
|
19,1 kg
|
1 mm
|
2000 mm
|
1000 mm²
|
1627 A
|
2100 A
|
|
||
|
Taipuisa virtakisko CFX 12X100X1
Tuotenumero:
CFX1305
Kopioitu!
|
100 mm
|
22,6 kg
|
1 mm
|
2000 mm
|
1200 mm²
|
1766 A
|
2280 A
|
|
||
|
Taipuisa virtakisko CFX 2X20X1-3
Tuotenumero:
CFX3055
Kopioitu!
|
20 mm
|
1,5 kg
|
3 mm
|
3000 mm
|
40 mm²
|
217 A
|
280 A
|
|
||
|
Taipuisa virtakisko CFX 3X20X1-3
Tuotenumero:
CFX3060
Kopioitu!
|
20 mm
|
2,05 kg
|
3 mm
|
3000 mm
|
60 mm²
|
271 A
|
350 A
|
|
||
|
Taipuisa virtakisko CFX 4X20X1-3
Tuotenumero:
CFX3065
Kopioitu!
|
20 mm
|
|
3 mm
|
3000 mm
|
|
|
|
|
||
|
Taipuisa virtakisko CFX 5X20X1-3
Tuotenumero:
CFX3070
Kopioitu!
|
20 mm
|
3,16 kg
|
3 mm
|
3000 mm
|
100 mm²
|
333 A
|
430 A
|
|
||
|
Taipuisa virtakisko CFX 2X24X1-3
Tuotenumero:
CFX3085
Kopioitu!
|
24 mm
|
1,78 kg
|
3 mm
|
3000 mm
|
48 mm²
|
271 A
|
350 A
|
|
||
|
Taipuisa virtakisko CFX 3X24X1-3
Tuotenumero:
CFX3090
Kopioitu!
|
24 mm
|
2,44 kg
|
3 mm
|
3000 mm
|
72 mm²
|
310 A
|
430 A
|
|
||
|
Taipuisa virtakisko CFX 4X24X1-3
Tuotenumero:
CFX3095
Kopioitu!
|
24 mm
|
3,1 kg
|
3 mm
|
3000 mm
|
96 mm²
|
364 A
|
350 A
|
|
||
|
Taipuisa virtakisko CFX 5X24X1-3
Tuotenumero:
CFX3100
Kopioitu!
|
24 mm
|
3,76 kg
|
3 mm
|
3000 mm
|
120 mm²
|
395 A
|
400 A
|
|
||
|
Taipuisa virtakisko CFX 2X32X1-3
Tuotenumero:
CFX3120
Kopioitu!
|
32 mm
|
|
3 mm
|
3000 mm
|
|
|
|
|
||
|
Taipuisa virtakisko CFX 3X32X1-3
Tuotenumero:
CFX3125
Kopioitu!
|
32 mm
|
3,21 kg
|
3 mm
|
3000 mm
|
96 mm²
|
380 A
|
490 A
|
|
||
|
Taipuisa virtakisko CFX 5X32X1-3
Tuotenumero:
CFX3135
Kopioitu!
|
32 mm
|
4,5 kg
|
3 mm
|
3000 mm
|
160 mm²
|
503 A
|
650 A
|
|
||
|
Taipuisa virtakisko CFX 8X32X1-3
Tuotenumero:
CFX3145
Kopioitu!
|
32 mm
|
7,57 kg
|
3 mm
|
3000 mm
|
256 mm²
|
674 A
|
870 A
|
|
||
|
Taipuisa virtakisko CFX 5X40X1-3
Tuotenumero:
CFX3170
Kopioitu!
|
32 mm
|
6,15 kg
|
3 mm
|
3000 mm
|
200 mm²
|
600 A
|
775 A
|
|
||
|
Taipuisa virtakisko CFX 10X40X1-3
Tuotenumero:
CFX3185
Kopioitu!
|
40 mm
|
11,58 kg
|
3 mm
|
3000 mm
|
400 mm²
|
912 A
|
1178 A
|
|
||
|
Taipuisa virtakisko CFX 5X50X1-3
Tuotenumero:
CFX3200
Kopioitu!
|
40 mm
|
7,65 kg
|
3 mm
|
3000 mm
|
250 mm²
|
717 A
|
925 A
|
|
||
|
Taipuisa virtakisko CFP 3X9X0,8
Tuotenumero:
CFX5005
Kopioitu!
|
50 mm
|
0,44 kg
|
0,8 mm
|
2000 mm
|
21,6 mm²
|
108 A
|
140 A
|
|
||
|
Taipuisa virtakisko CFP 6X9X0,8
Tuotenumero:
CFX5020
Kopioitu!
|
9 mm
|
0,83 kg
|
0,8 mm
|
2000 mm
|
43,2 mm²
|
194 A
|
250 A
|
|
||
|
Taipuisa virtakisko CFP 9X9X0,8
Tuotenumero:
CFX5021
Kopioitu!
|
9 mm
|
1,22 kg
|
0 mm
|
2000 mm
|
648 mm²
|
217 A
|
280 A
|
|
||
|
Taipuisa virtakisko CFP 3X13X0,5
Tuotenumero:
CFX5022
Kopioitu!
|
13 mm
|
0,39 kg
|
0,5 mm
|
2000 mm
|
19,5 mm²
|
12 A
|
170 A
|
|
||
|
Taipuisa virtakisko CFP 6X13X0,5
Tuotenumero:
CFX5023
Kopioitu!
|
13 mm
|
0,84 kg
|
0,5 mm
|
2000 mm
|
39 mm²
|
194 A
|
250 A
|
|
||
|
Taipuisa virtakisko CFP 10X13X0,5
Tuotenumero:
CFX5024
Kopioitu!
|
13 mm
|
1,32 kg
|
0,5 mm
|
2000 mm
|
65 mm²
|
256 A
|
330 A
|
|
||
|
Taipuisa virtakisko CFP 2X15,5X0,8
Tuotenumero:
CFX5025
Kopioitu!
|
15,5 mm
|
0,6 kg
|
0,8 mm
|
2000 mm
|
24,8 mm²
|
159 A
|
205 A
|
|
||
|
Taipuisa virtakisko CFP 4X15,5X08
Tuotenumero:
CFX5035
Kopioitu!
|
15,5 mm
|
1,05 kg
|
0,8 mm
|
2000 mm
|
49,6 mm²
|
248 A
|
320 A
|
|
||
|
Taipuisa virtakisko CFP 6X15,5X0,8
Tuotenumero:
CFX5045
Kopioitu!
|
15,5 mm
|
1,5 kg
|
0,8 mm
|
2000 mm
|
74,4 mm²
|
310 A
|
400 A
|
|
||
|
Taipuisa virtakisko CFP 10X15,5X0,8
Tuotenumero:
CFX5050
Kopioitu!
|
15,5 mm
|
2,41 kg
|
0,8 mm
|
2000 mm
|
124 mm²
|
341 A
|
440 A
|
|
||
|
Taipuisa virtakisko CFP 2X20X1
Tuotenumero:
CFX5055
Kopioitu!
|
20 mm
|
0,9 kg
|
1 mm
|
2000 mm
|
40 mm²
|
217 A
|
280 A
|
|
||
|
Taipuisa virtakisko CFP 3X20X1
Tuotenumero:
CFX5060
Kopioitu!
|
20 mm
|
1,26 kg
|
1 mm
|
2000 mm
|
60 mm²
|
271 A
|
350 A
|
|
||
|
Taipuisa virtakisko CFP 4X20X1
Tuotenumero:
CFX5065
Kopioitu!
|
20 mm
|
1,63 kg
|
1 mm
|
2000 mm
|
80 mm²
|
318 A
|
410 A
|
|
||
|
Taipuisa virtakisko CFP 5X20X1
Tuotenumero:
CFX5070
Kopioitu!
|
20 mm
|
2 kg
|
1 mm
|
2000 mm
|
100 mm²
|
333 A
|
430 A
|
|
||
|
Taipuisa virtakisko CFP 6X20X1
Tuotenumero:
CFX5075
Kopioitu!
|
20 mm
|
2,35 kg
|
1 mm
|
2000 mm
|
120 mm²
|
372 A
|
480 A
|
|
||
|
Taipuisa virtakisko CFP 8X20X1
Tuotenumero:
CFX5076
Kopioitu!
|
20 mm
|
3,08 kg
|
1 mm
|
2000 mm
|
160 mm²
|
434 A
|
560 A
|
|
||
|
Taipuisa virtakisko CFP 10X20X1
Tuotenumero:
CFX5080
Kopioitu!
|
20 mm
|
3,81 kg
|
1 mm
|
2000 mm
|
200 mm²
|
496 A
|
640 A
|
|
||
|
Taipuisa virtakisko CFP 2X24X1
Tuotenumero:
CFX5085
Kopioitu!
|
24 mm
|
1,07 kg
|
1 mm
|
2000 mm
|
48 mm²
|
271 A
|
350 A
|
|
||
|
Taipuisa virtakisko CFP 3X24X1
Tuotenumero:
CFX5090
Kopioitu!
|
24 mm
|
1,51 kg
|
1 mm
|
2000 mm
|
72 mm²
|
310 A
|
400 A
|
|
||
|
Taipuisa virtakisko CFP 4X24X1
Tuotenumero:
CFX5095
Kopioitu!
|
24 mm
|
1,95 kg
|
1 mm
|
2000 mm
|
96 mm²
|
364 A
|
470 A
|
|
||
|
Taipuisa virtakisko CFP 5X24X1
Tuotenumero:
CFX5100
Kopioitu!
|
24 mm
|
2,38 kg
|
1 mm
|
2000 mm
|
120 mm²
|
395 A
|
510 A
|
|
||
|
Taipuisa virtakisko CFP 6X24X1
Tuotenumero:
CFX5105
Kopioitu!
|
24 mm
|
2,81 kg
|
1 mm
|
2000 mm
|
144 mm²
|
442 A
|
570 A
|
|
||
|
Taipuisa virtakisko CFP 8X24X1
Tuotenumero:
CFX5110
Kopioitu!
|
24 mm
|
3,68 kg
|
1 mm
|
2000 mm
|
192 mm²
|
531 A
|
685 A
|
|
||
|
Taipuisa virtakisko CFP 10X24X1
Tuotenumero:
CFX5115
Kopioitu!
|
24 mm
|
4,55 kg
|
1 mm
|
2000 mm
|
240 mm²
|
620 A
|
800 A
|
|
||
|
Taipuisa virtakisko CFP 2X32X1
Tuotenumero:
CFX5120
Kopioitu!
|
32 mm
|
1,42 kg
|
1 mm
|
2000 mm
|
64 mm²
|
318 A
|
410 A
|
|
||
|
Taipuisa virtakisko CFP 3X32X1
Tuotenumero:
CFX5125
Kopioitu!
|
32 mm
|
1,99 kg
|
1 mm
|
2000 mm
|
96 mm²
|
380 A
|
490 A
|
|
||
|
Taipuisa virtakisko CFP 4X32X1
Tuotenumero:
CFX5130
Kopioitu!
|
32 mm
|
2,57 kg
|
1 mm
|
2000 mm
|
128 mm²
|
426 A
|
550 A
|
|
||
|
Taipuisa virtakisko CFP 5X32X1
Tuotenumero:
CFX5135
Kopioitu!
|
32 mm
|
3,14 kg
|
1 mm
|
2000 mm
|
160 mm²
|
503 A
|
650 A
|
|
||
|
Taipuisa virtakisko CFP 6X32X1
Tuotenumero:
CFX5140
Kopioitu!
|
32 mm
|
3,73 kg
|
1 mm
|
2000 mm
|
192 mm²
|
558 A
|
720 A
|
|
||
|
Taipuisa virtakisko CFP 8X32X1
Tuotenumero:
CFX5145
Kopioitu!
|
32 mm
|
4,88 kg
|
1 mm
|
2000 mm
|
256 mm²
|
674 A
|
870 A
|
|
||
|
Taipuisa virtakisko CFP 10X32X1
Tuotenumero:
CFX5150
Kopioitu!
|
32 mm
|
6,03 kg
|
1 mm
|
2000 mm
|
320 mm²
|
790 A
|
1020 A
|
|
||
|
Taipuisa virtakisko CFP 2X40X1
Tuotenumero:
CFX5155
Kopioitu!
|
40 mm
|
1,76 kg
|
1 mm
|
2000 mm
|
80 mm²
|
356 A
|
460 A
|
|
||
|
Taipuisa virtakisko CFP 3X40X1
Tuotenumero:
CFX5160
Kopioitu!
|
40 mm
|
2,48 kg
|
1 mm
|
2000 mm
|
120 mm²
|
442 A
|
570 A
|
|
||
|
Taipuisa virtakisko CFP 4X40X1
Tuotenumero:
CFX5165
Kopioitu!
|
40 mm
|
3,2 kg
|
1 mm
|
2000 mm
|
160 mm²
|
503 A
|
650 A
|
|
||
|
Taipuisa virtakisko CFP 5X40X1
Tuotenumero:
CFX5170
Kopioitu!
|
40 mm
|
3,91 kg
|
1 mm
|
2000 mm
|
200 mm²
|
600 A
|
775 A
|
|
||
|
Taipuisa virtakisko CFP 6X40X1
Tuotenumero:
CFX5175
Kopioitu!
|
40 mm
|
4,64 kg
|
1 mm
|
2000 mm
|
240 mm²
|
670 A
|
865 A
|
|
||
|
Taipuisa virtakisko CFP 8X40X1
Tuotenumero:
CFX5180
Kopioitu!
|
40 mm
|
6,07 kg
|
1 mm
|
2000 mm
|
320 mm²
|
802 A
|
1035 A
|
|
||
|
Taipuisa virtakisko CFP 10X40X1
Tuotenumero:
CFX5185
Kopioitu!
|
40 mm
|
7,51 kg
|
1 mm
|
2000 mm
|
400 mm²
|
912 A
|
1178 A
|
|
||
|
Taipuisa virtakisko CFP 3X50X1
Tuotenumero:
CFX5190
Kopioitu!
|
50 mm
|
3,09 kg
|
1 mm
|
2000 mm
|
150 mm²
|
456 A
|
589 A
|
|
||
|
Taipuisa virtakisko CFP 4X50X1
Tuotenumero:
CFX5195
Kopioitu!
|
50 mm
|
3,98 kg
|
1 mm
|
2000 mm
|
200 mm²
|
602 A
|
777 A
|
|
||
|
Taipuisa virtakisko CFP 5X50X1
Tuotenumero:
CFX5200
Kopioitu!
|
50 mm
|
4,88 kg
|
1 mm
|
2000 mm
|
250 mm²
|
717 A
|
925 A
|
|
||
|
Taipuisa virtakisko CFP 6X50X1
Tuotenumero:
CFX5205
Kopioitu!
|
50 mm
|
5,77 kg
|
1 mm
|
2000 mm
|
300 mm²
|
806 A
|
1040 A
|
|
||
|
Taipuisa virtakisko CFP 8X50X1
Tuotenumero:
CFX5210
Kopioitu!
|
50 mm
|
7,57 kg
|
1 mm
|
2000 mm
|
400 mm²
|
922 A
|
1190 A
|
|
||
|
Taipuisa virtakisko CFP 10X50X1
Tuotenumero:
CFX5215
Kopioitu!
|
50 mm
|
937 kg
|
1 mm
|
2000 mm
|
500 mm²
|
1069 A
|
1380 A
|
|
||
|
Taipuisa virtakisko CFP 3X63X1
Tuotenumero:
CFX5220
Kopioitu!
|
63 mm
|
3,87 kg
|
1 mm
|
2000 mm
|
189 mm²
|
639 A
|
825 A
|
|
||
|
Taipuisa virtakisko CFP 4X63X1
Tuotenumero:
CFX5225
Kopioitu!
|
63 mm
|
5,01 kg
|
1 mm
|
2000 mm
|
252 mm²
|
736 A
|
950 A
|
|
||
|
Taipuisa virtakisko CFP 5X63X1
Tuotenumero:
CFX5230
Kopioitu!
|
63 mm
|
6,13 kg
|
1 mm
|
2000 mm
|
315 mm²
|
821 A
|
1060 A
|
|
||
|
Taipuisa virtakisko CFP 6X63X1
Tuotenumero:
CFX5235
Kopioitu!
|
63 mm
|
7,26 kg
|
1 mm
|
2000 mm
|
378 mm²
|
945 A
|
1220 A
|
|
||
|
Taipuisa virtakisko CFP 8X63X1
Tuotenumero:
CFX5240
Kopioitu!
|
63 mm
|
9,52 kg
|
1 mm
|
2000 mm
|
504 mm²
|
1084 A
|
1400 A
|
|
||
|
Taipuisa virtakisko CFP 10X63X1
Tuotenumero:
CFX5245
Kopioitu!
|
63 mm
|
11,7 kg
|
1 mm
|
2000 mm
|
630 mm²
|
1251 A
|
1615 A
|
|
||
|
Taipuisa virtakisko CFP 3X80X1
Tuotenumero:
CFX5250
Kopioitu!
|
80 mm
|
4,9 kg
|
1 mm
|
2000 mm
|
240 mm²
|
773 A
|
998 A
|
|
||
|
Taipuisa virtakisko CFP 4X80X1
Tuotenumero:
CFX5255
Kopioitu!
|
80 mm
|
6,34 kg
|
1 mm
|
2000 mm
|
320 mm²
|
891 A
|
1150 A
|
|
||
|
Taipuisa virtakisko CFP 5X80X1
Tuotenumero:
CFX5260
Kopioitu!
|
80 mm
|
7,76 kg
|
1 mm
|
2000 mm
|
400 mm²
|
991 A
|
1280 A
|
|
||
|
Taipuisa virtakisko CFP 6X80X1
Tuotenumero:
CFX5265
Kopioitu!
|
80 mm
|
9,2 kg
|
1 mm
|
2000 mm
|
480 mm²
|
1088 A
|
1405 A
|
|
||
|
Taipuisa virtakisko CFP 8X80X1
Tuotenumero:
CFX5270
Kopioitu!
|
80 mm
|
12,1 kg
|
1 mm
|
2000 mm
|
640 mm²
|
1246 A
|
1608 A
|
|
||
|
Taipuisa virtakisko CFP 10X80X1
Tuotenumero:
CFX5275
Kopioitu!
|
80 mm
|
14,9 kg
|
1 mm
|
2000 mm
|
800 mm²
|
1374 A
|
1779 A
|
|
||
|
Taipuisa virtakisko CFP 4X100X1
Tuotenumero:
CFX5280
Kopioitu!
|
100 mm
|
7,9 kg
|
1 mm
|
2000 mm
|
400 mm²
|
964 A
|
1245 A
|
|
||
|
Taipuisa virtakisko CFP 5X100X1
Tuotenumero:
CFX5285
Kopioitu!
|
100 mm
|
9,7 kg
|
1 mm
|
2000 mm
|
500 mm²
|
1189 A
|
1535 A
|
|
||
|
Taipuisa virtakisko CFP 6X100X1
Tuotenumero:
CFX5290
Kopioitu!
|
100 mm
|
11,5 kg
|
1 mm
|
2000 mm
|
600 mm²
|
1301 A
|
1680 A
|
|
||
|
Taipuisa virtakisko CFP 8X100X1
Tuotenumero:
CFX5295
Kopioitu!
|
100 mm
|
15,1 kg
|
1 mm
|
2000 mm
|
800 mm²
|
1476 A
|
1905 A
|
|
||
|
Taipuisa virtakisko CFP 10X100X1
Tuotenumero:
CFX5300
Kopioitu!
|
100 mm
|
18,7 kg
|
1 mm
|
2000 mm
|
1000 mm²
|
1627 A
|
2100 A
|
|
||
|
Taipuisa virtakisko CFP 12X100X1
Tuotenumero:
CFX5305
Kopioitu!
|
100 mm
|
22,2 kg
|
1 mm
|
2000 mm
|
1200 mm²
|
1766 A
|
2280 A
|
|
Valitse tuote listalta.