CAL CONTROLS

CAL 9500P-sarjan prosessisäätimet, 48 x 48 mm

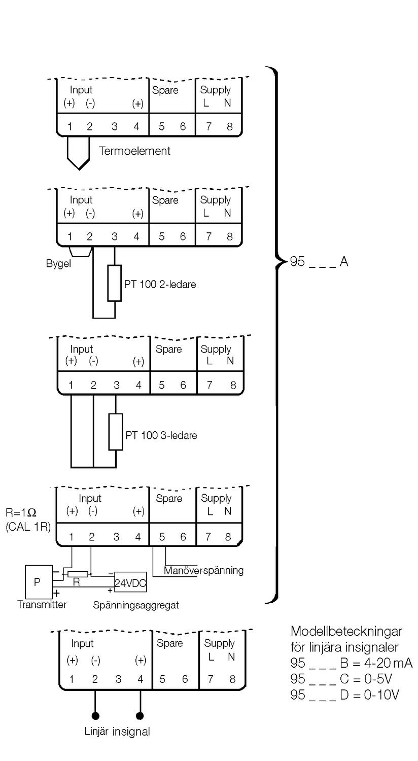
Standardi sisääntulolla tarkoitetaan 2-johdin Pt100-, termoelementti- ja mV-sisääntuloa. Käyttämällä 1 ohmin vastusta (1 %) mV-sisääntulossa voidaan säätimeen syöttää standardivirtaviestiä (4-20 mA tai 0-20 mA). Lisäksi 9500P säätimessä on mahdollista käyttää myös 3-johtimista Pt100-anturia. 9500P säädin on mahdollista valita analogiatulolla 0-20 mA/4-20 mA tai 0-10 V. Lisäksi 9500P säätimessä on aina kolme lähtöä, joista yksi voi olla analoginen. Säätimet voidaan varustaa myös jälkeenpäin RS232- tai RS485-kortilla.

 

Lue lisää
  • PID-prosessisäädin kirkkaalla LED-näytöllä
  • Asetusarvon ja mittausarvon näyttö
  • Ohjelmoitavissa
  • Kolme lähtöä vakiona
  • Vaihtoehtoina analogialähdöt ja/tai -tulot

Valitse tuote

Valitse tuote

Valitse tuote

Tekniset tiedot

Tiedot

IP-luokka IP66
Numeroiden lukumäärä 4
Min. käyttöjännite AC 90 V
Max. käyttöjännite AC 264 V
Paneelin koko 48x48 mm
Min. käyttölämpötila 0 °C
Max. käyttölämpötila 50 °C
Paino 180 g
Hyväksynnät CE, CSA, EMC, UL, FM

*Invisible Heading*

Numeroiden korkeus 10 mm
Digitaalitulo Ei
Lähtö ssd/rele/rele
Taajuus 50-60 Hz
Sisääntulot Lt-anturi
Kotelon materiaali Polykarbonaatti
Asennus Paneeliasennus

Mitat ja kytkennät

Dimension 9400/9500/9500P

Etulevy 48x48 mm
Aukon leveys 45 mm + 0,6 - 0,0 mm
Aukon korkeus 45 mm + 0,6 mm - 0,0 mm
Max. paneelin paksuus 9,5 mm

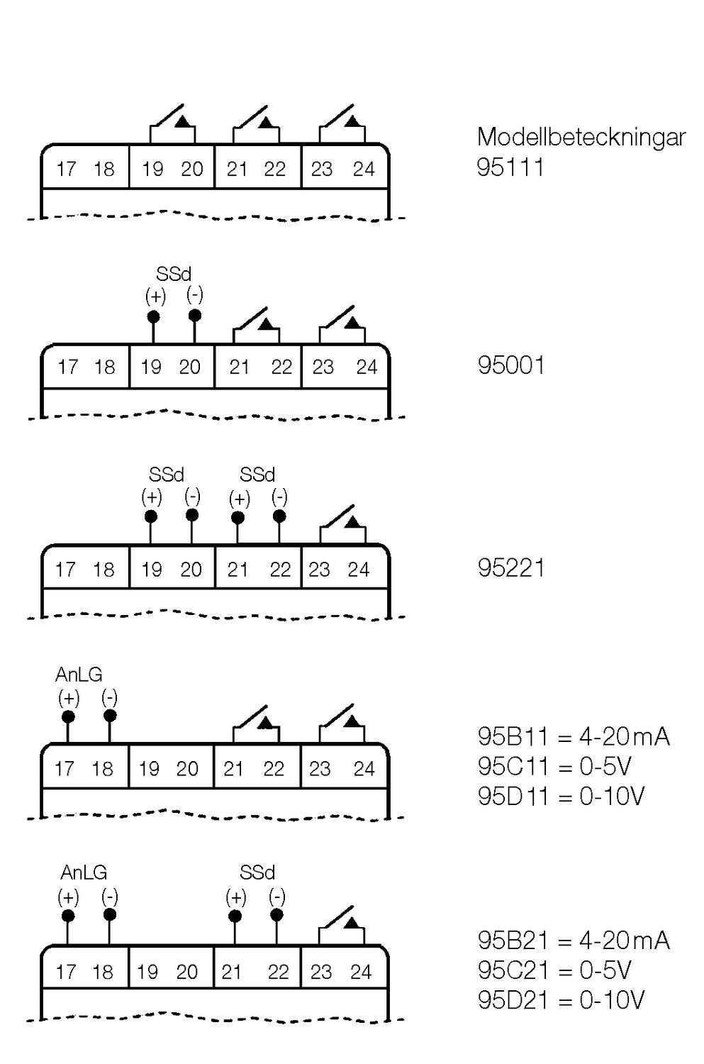
Connecting sketch, variations of outsignal, series 9500 and 9500P

Connecting sketch series 9500 and 9500P

Tekniset kuvat

Tuotekuvaus

Standardi sisääntulolla tarkoitetaan 2-johdin Pt100-, termoelementti- ja mV-sisääntuloa. Käyttämällä 1 ohmin vastusta (1 %) mV-sisääntulossa voidaan säätimeen syöttää standardivirtaviestiä (4-20 mA tai 0-20 mA). Lisäksi 9500P säätimessä on mahdollista käyttää myös 3-johtimista Pt100-anturia. 9500P säädin on mahdollista valita analogiatulolla 0-20 mA/4-20 mA tai 0-10 V. Lisäksi 9500P säätimessä on aina kolme lähtöä, joista yksi voi olla analoginen. Säätimet voidaan varustaa myös jälkeenpäin RS232- tai RS485-kortilla.

 

Tarvikkeet



Äänitiedostot

Lisää luettavaa

Suosikit Tilausnumero: IP-luokka Numeroiden lukumäärä Min. käyttöjännite AC Max. käyttöjännite AC Paneelin koko Min. käyttölämpötila Max. käyttölämpötila Paino Hyväksynnät Numeroiden korkeus Digitaalitulo Lähtö Taajuus Sisääntulot Kotelon materiaali Asennus Ulostulo Hinta
IP66
4
90 V
264 V
48x48 mm
0 °C
50 °C
180 g
CE, CSA, EMC, UL, FM
10 mm
Ei
ssd/rele/rele
50-60 Hz
Lt-anturi
Polykarbonaatti
Paneeliasennus
IP66
4
90 V
264 V
48x48 mm
0 °C
50 °C
180 g
CE, CSA, EMC, UL, FM
10 mm
Ei
rele/rele/rele
50-60 Hz
Lt-anturi
Polykarbonaatti
Paneeliasennus
IP66
4
90 V
264 V
48x48 mm
0 °C
50 °C
180 g
CE, CSA, EMC, UL, FM
10 mm
Ei
rele/rele/rele
50-60 Hz
4-20 mA
Polykarbonaatti
Paneeliasennus
IP66
4
90 V
264 V
48x48 mm
0 °C
50 °C
180 g
CE, CSA, EMC, UL, FM
10 mm
Ei
50-60 Hz
0-10 V
Polykarbonaatti
Paneeliasennus
Rele
IP66
4
90 V
264 V
48x48 mm
0 °C
50 °C
180 g
CE, CSA, EMC, UL, FM
10 mm
Ei
4-20 mA/rele/rele
50-60 Hz
Lt-anturi
Polykarbonaatti
Paneeliasennus
IP66
4
90 V
264 V
48x48 mm
0 °C
50 °C
180 g
CE, CSA, EMC, UL, FM
10 mm
Ei
4-20 mA/rele/rele
50-60 Hz
4-20 mA
Polykarbonaatti
Paneeliasennus
IP66
4
90 V
264 V
48x48 mm
0 °C
50 °C
180 g
CE, CSA, EMC, UL, FM
10 mm
Ei
0-10 V/rele/rele
50-60 Hz
Lt-anturi
Polykarbonaatti
Paneeliasennus

Valittu tuote

Valitse tuote listalta.

Teknisiä neuvoja

Jouni Pulli

Tuotepäällikkö

Asiakaspalvelu
Asiakaspalvelumme vastaa kysymyksiin ja etsii ratkaisut ongelmiin. Heille voit jättää myös tilauksesi.
FAQ
+ Miten tullaan asiakkaaksenne?
+ Olen sopinut puskurivarastosta, voinko tilata verkkokaupan kautta?
+ Voiko samalla tilillä olla useita käyttäjiä?
+ Voiko samassa tilauksessa olla useampia toimituspäiviä?
+ Voiko tilauksen toimittaa väliaikaiseen toimitusosoitteeseen?
Chatti
Tarvitsetko apua?
Logo

Evästeet oem.fi sivustolla

Evästeiden avulla voimme palvella sinua paremmin ja varmistamme sivuston sujuvan toiminnan. Voit hallinnoida evästeasetuksia koska tahansa.

Toiminnalliset evästeet

Nämä evästeet ovat välttämättömiä verkkosivuston toimimiseksi, eikä niitä voi poistaa käytöstä järjestelmissämme. Niitä käytetään yleensä vain vastauksena toimiin, jotka olet tehnyt palvelupyynnön yhteydessä, esimerkiksi henkilökohtaisten asetusten määrittämisen, kirjautumisen tai lomakkeen täyttämisen yhteydessä.

Tilastolliset evästeet

Tilastollisten evästeiden avulla seuraamme verkkosivustomme kävijöiden toimintaa ja teemme analyyseja, joiden avulla voimme optimoida verkkosivustoamme. Tämä tarkoittaa, että voimme kehittää sivustoamme toimivammaksi ja palvelemaan kävijöitä paremmin. Jos et hyväksy näitä evästeitä, emme tiedä, milloin olet käynyt sivustollamme. Voit kuitenkin käyttää sivustoamme normaalisti.

Markkinointievästeet

Markkinointievästeiden avulla voimme kohdentaa sinulle mainoksia eri verkkosivustoilla tai sisältöä sosiaalisessa mediassa. Näitä evästeitä asettavat kolmannen osapuolen mainonta- ja kohdistustyökalut. Evästeiden kautta nämä toimijat voivat muodostaa profiilin kiinnostuksesi kohteista. Jos et hyväksy näitä evästeitä, et näe kohdennettua markkinointia etkä mahdollisesti voi käyttää sosiaalisen median jakotyökaluja.