VICTOR PUMPS

Victor S - B-sarja

Itseimevä keskipakopumppu (pronssipesä)

S-sarjan keskipakopumppu on itseimevä ja se kykenee erottamaan ilman pumpattavasta nesteestä.
  • Virtaus max. 79.8 m³/h
  • Paine max. 28 mvp
  • Vankkarakenteinen ja luotettava
  • Saatavana myös ATEX-luokituksella
  • Pumpattava aine voi sisältää likaa, hiekkaa ja partikkeleita

Valitse tuote

Valitse tuote

Valitse tuote

Tekniset tiedot

1098_Particle size (mm) 20
Akselitiiviste materiaali Karkaistu ruostumaton teräs, Keraaminen, Viton
BSP-liitin 1 1/2"
Juoksupyörän materiaali Alumiini, Pronssi
Jännite 230/400V
Kulutuslevy materiaali Alumiini, Pronssi
Materiaali Pronssi
Max. järjestelmän paine 6 bar
Max. käyttölämpötila 70 °C
Max. nostokorkeus 14,5 m
Max. virtaus 22,2 m³/h
Nopeus 2800 rpm
Teho (P2) 1,1 kW
Tiivisteen materiaali Kuitu, NBR
Viskositeetti 50 cSt

Tuotekuvaus

Victorin S-sarjan keskipakopumppu on paitsi itseimevä, mutta sen lisäksi se kykenee erottamaan ilman pumpattavasta nesteestä.

 

Pumpussa on avoin juoksupyörä ja vaihdettava kulutuslevy, jolloin se pystyy käsittelemään kuluttavia ja kiinteitä partikkeleita sisältäviä nesteitä, mutta myös korroosiota aiheuttavia ja ympäristölle vaarallisia nesteitä.

Victorin keskipakopumput sopivat moniin pumppauskohteisiin, kuten esimerkiksi jäteveden, liuottimien, kalkkimaidon, biomassan, bensiinin & dieselin ja lannoiteaineiden pumppaamiseen.

Victor S-sarjan toiminta

 

Konstr_S-pump_6007

Ennen kuin pumppu otetaan ensimmäistä kertaa käyttöön, täytyy pumppupesä täyttää

manuaalisesti pumpattavalla nesteellä (siemenvesi). Jatkossa pumppu säilyttää siemenveden

ja sitä ei tarvitse enää lisätä.

 

Itseimevä keskipakopumppu voidaan asentaa normaalista, nestepinnan alapuolisesta

asennustavasta poiketen, joko pumpattavan nesteen kanssa samalle tasolle tai

vaihtoehtoisesti nestepinnan yläpuolelle.

Näissä kahdessa jälkimmäisessä asennustapauksessa pumppuun tuleva neste sisältää

aluksi runsaasti ilmaa.

 
Victorin avonainen juoksupyörä imee pumppuun neste-ilmaseoksen, jonka jälkeen pumpun

gravitaatioon perustuva konstruktio erotta nesteen ja ilman toisistaan. Erotuksen jälkeen ilma

poistuu painepuolen putkistoon, jonka jälkeen pumppaus jatkuu pelkällä nesteellä.

Pumpun imupuolelle on asennettu takaiskuventtiili joka estää nesteen takaisinkierron, sekä

vähentää pumppauksen aloittamisessa kuluvaa nesteen nostoaikaa.

 

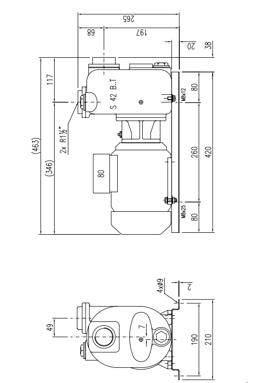
Itseimevä keskipakopumppu tekninen kuva

Itseimevä keskipakopumppu tekninen kuva 2

Itseimevä keskipakopumppu tekninen kuva 3

 

 

Tilaustiedot

Pumppupesä

Pronssi

Juoksupyörä

Alumiinipronssi

Kulutuslevy

Alumiinipronssi

Akselisuojus

Ruostumaton teräs 1.4401

Tiivisteet

NBR/Kuitutiiviste (vakio), Viton®/Kuitutiiviste

Akselitiivisteet

Kovametalli/Keraaminen/Viton® tiivistekammiolla (vakio), myös paljon muita vaihtoehtoja/materiaaleja pyynnöstä.

Lämpötila

Max. +70 °C (kompaktit pumput), +130 °C (vapaalla akselilla), +90 °C (ATEX)

Viskositeetti

Max. 50 cSt

Paineluokka

Max. 6 baaria

Moottori

Sähkömoottori valinnaisella jännitteellä ja koteloinnilla. Pumppu voidaan varustaa myös ATEX, bensiini-, diesel- tai hydraulimoottorilla

Liitännät

Sisäpuolinen BSP-kierre, Laippaliitäntä DIN/ANSI

Pyörimissuunta

Vastapäivään pumpun imuliitännästä katsottuna

ATEX*

EEx II 2G IIC T4

 

*Erikoismalli, ota yhteyttä meihin.

 

Tarvikkeet



Äänitiedostot

Lisää luettavaa

Suosikit Tilausnumero: 1098_Particle size (mm) Akselitiiviste materiaali Juoksupyörän materiaali Kulutuslevy materiaali Max. käyttölämpötila Max. nostokorkeus Max. virtaus Nopeus Teho (P2) Hinta
20
Karkaistu ruostumaton teräs, Keraaminen, Viton
Alumiini, Pronssi
Alumiini, Pronssi
70 °C
14,5 m
22,2 m³/h
2800 rpm
1,1 kW
20
FKM, Keraaminen, SIC
Pronssi
Pronssi
70 °C
14,5 m
22,2 m³/h
2800 rpm
1,1 kW
20
Karkaistu ruostumaton teräs, Keraaminen, Viton
Alumiini, Pronssi
Alumiini, Pronssi
130 °C
14,5 m
22,2 m³/h
2800 rpm
1,1 kW
32
Karkaistu ruostumaton teräs, Keraaminen, Viton
Alumiini, Pronssi
Alumiini, Pronssi
70 °C
20 m
72 m³/h
2900 rpm
4 kW

Valittu tuote

Valitse tuote listalta.

Teknisiä neuvoja

Jonne Kaarela

Tuotepäällikkö

Asiakaspalvelu
Asiakaspalvelumme vastaa kysymyksiin ja etsii ratkaisut ongelmiin. Heille voit jättää myös tilauksesi.
FAQ
+ Miten tullaan asiakkaaksenne?
+ Olen sopinut puskurivarastosta, voinko tilata verkkokaupan kautta?
+ Voiko samalla tilillä olla useita käyttäjiä?
+ Voiko samassa tilauksessa olla useampia toimituspäiviä?
+ Voiko tilauksen toimittaa väliaikaiseen toimitusosoitteeseen?
Chatti
Tarvitsetko apua?
Logo

Evästeet oem.fi sivustolla

Evästeiden avulla voimme palvella sinua paremmin ja varmistamme sivuston sujuvan toiminnan. Voit hallinnoida evästeasetuksia koska tahansa.

Toiminnalliset evästeet

Nämä evästeet ovat välttämättömiä verkkosivuston toimimiseksi, eikä niitä voi poistaa käytöstä järjestelmissämme. Niitä käytetään yleensä vain vastauksena toimiin, jotka olet tehnyt palvelupyynnön yhteydessä, esimerkiksi henkilökohtaisten asetusten määrittämisen, kirjautumisen tai lomakkeen täyttämisen yhteydessä.

Tilastolliset evästeet

Tilastollisten evästeiden avulla seuraamme verkkosivustomme kävijöiden toimintaa ja teemme analyyseja, joiden avulla voimme optimoida verkkosivustoamme. Tämä tarkoittaa, että voimme kehittää sivustoamme toimivammaksi ja palvelemaan kävijöitä paremmin. Jos et hyväksy näitä evästeitä, emme tiedä, milloin olet käynyt sivustollamme. Voit kuitenkin käyttää sivustoamme normaalisti.

Markkinointievästeet

Markkinointievästeiden avulla voimme kohdentaa sinulle mainoksia eri verkkosivustoilla tai sisältöä sosiaalisessa mediassa. Näitä evästeitä asettavat kolmannen osapuolen mainonta- ja kohdistustyökalut. Evästeiden kautta nämä toimijat voivat muodostaa profiilin kiinnostuksesi kohteista. Jos et hyväksy näitä evästeitä, et näe kohdennettua markkinointia etkä mahdollisesti voi käyttää sosiaalisen median jakotyökaluja.