VICTOR PUMPS
| Akselitiiviste materiaali | Keraaminen, SIC, Viton |
|---|---|
| Differentiaalipaine | 14 |
| Juoksupyörän materiaali | Valurauta |
| Jännite | 230/400V |
| Kulutuslevy materiaali | Teräs |
| Liitäntä | 1 1/2" |
| Materiaali | Valurauta |
| Max. käyttölämpötila | 70 °C |
| Max. virtaus | 22,5 m³/h |
| Nopeus | 2900 rpm |
|---|---|
| Normaalisti varastossa oleva tuote | Kyllä |
| Particle size | 20mm |
| Pumpun materiaali | Valurauta |
| Teho (P2) | 1,1 kW |
| Tiivisteen materiaali | Kuitu, NBR |
| Viskositeetti | 50 cSt |
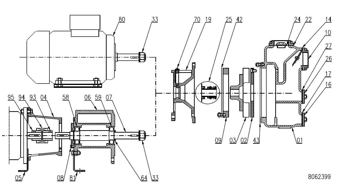
Victorin S-sarjan keskipakopumppu on paitsi itseimevä, mutta sen lisäksi se kykenee erottamaan ilman pumpattavasta nesteestä.
Pumpussa on avoin juoksupyörä ja vaihdettava kulutuslevy, jolloin se pystyy käsittelemään kuluttavia ja kiinteitä partikkeleita sisältäviä nesteitä, mutta myös korroosiota aiheuttavia ja ympäristölle vaarallisia nesteitä.
Victorin keskipakopumput sopivat moniin pumppauskohteisiin, kuten esimerkiksi jäteveden, liuottimien, kalkkimaidon, biomassan, bensiinin & dieselin ja lannoiteaineiden pumppaamiseen.
Victor S-sarjan toiminta
| Ennen kuin pumppu otetaan ensimmäistä kertaa käyttöön, täytyy pumppupesä täyttää manuaalisesti pumpattavalla nesteellä (siemenvesi). Jatkossa pumppu säilyttää siemenveden ja sitä ei tarvitse enää lisätä.
Itseimevä keskipakopumppu voidaan asentaa normaalista, nestepinnan alapuolisesta asennustavasta poiketen, joko pumpattavan nesteen kanssa samalle tasolle tai vaihtoehtoisesti nestepinnan yläpuolelle. Näissä kahdessa jälkimmäisessä asennustapauksessa pumppuun tuleva neste sisältää aluksi runsaasti ilmaa. gravitaatioon perustuva konstruktio erotta nesteen ja ilman toisistaan. Erotuksen jälkeen ilma poistuu painepuolen putkistoon, jonka jälkeen pumppaus jatkuu pelkällä nesteellä. Pumpun imupuolelle on asennettu takaiskuventtiili joka estää nesteen takaisinkierron, sekä vähentää pumppauksen aloittamisessa kuluvaa nesteen nostoaikaa. |
|
|
|
Pumppupesä | Valurauta GG25 |
Juoksupyörä | Valurauta DIN 1691, Valurauta DIN 1693, Ruostumaton teräs 1.4408 |
Kulutuslevy | Teräs, Valurauta DIN 1693, Ruostumaton teräs 1.4401 |
Akseli | Ruostumaton teräs 1.4021, Ruostumaton teräs 1.4401 |
Akselisuojus | Ruostumaton teräs 1.4401 |
Tiivisteet | NBR/Kuitutiiviste (vakio), Viton®/Kuitutiiviste |
Akselitiivisteet | Kovametalli/Ceramic/Viton® tiivistekammiolla (vakio), myös paljon muita vaihtoehtoja/materiaaleja pyynnöstä. |
Lämpötila | Max. +70 °C (kompaktit pumput), +130 °C (vapaalla akselilla), +90 °C (ATEX) |
Viskositeetti | Max. 50 cSt |
Järjestelmänpaine | Max. 6 baaria |
Motor | Sähkömoottori valinnaisella jännitteellä ja koteloinnilla. Pumppu voidaan varustaa myös ATEX, bensiini-, diesel- tai hydraulimoottorilla |
Liitännät | Sisäpuolinen BSP-kierre, Laippaliitäntä DIN/ANSI |
Pyörimissuunta | Vastapäivään pumpun imuliitännästä katsottuna |
ATEX* | EEx II 2G IIC T4 |
*Erikoismalli, ota yhteyttä meihin.
Packon hygieeniset keskipakopumput soveltuvat meijeriteollisuuteen, elintarvike- ja lääketeollisuuteen, sekä erityisesti panimo- ja virvoitusjuomateollisuuteen.
Olemme mukana Teknologia-messuilla, osastolla 6d60! Tule haistelemaan messutunnelmaa ja juttelemaan. Nähdään Helsingissä 4.–6.11.2025!
Jabscon kumisiipipumput nousevat ykkösvalinnaksi, kun tarvitaan luotettavaa, tehokasta ja monikäyttöistä ratkaisua nesteiden siirtoon. Lue lisää!
Jung Process Systems on erikoistunut hygienisiin ruostumattomasta teräksestä valmistettuihin kaksoisruuvipumppuihin.
Packon lohkoroottoripumput ovat hellävaraisia pumpattavalle aineelle ja soveltuvat erityisesti nesteiden pumppaamiseen, joissa on pehmeitä partikkeleita.
Vety, tuo maailmankaikkeuden yleisin alkuaine, on noussut yhdeksi tulevaisuuden lupaavimmista energiamuodoista. Vaikka sen potentiaali on tunnustettu jo vuosikymmeniä, viimeaikaiset teknologiset edistysaskeleet ja kasvavat ympäristövaatimukset ovat nostaneet vedyn maailmanlaajuisen energiamurroksen ytimeen. Mutta mikä tekee vedystä niin erityisen ja miten se voi edistää kestävää tulevaisuutta?
|
|
|
|
|
|
||
|---|---|---|---|---|---|---|
|
|
|
|
|
|
||
|
|
|
|
|
|
||
|
|
|
|
|
|
||
|
|
|
|
|
|
||
|
|
|
|
|
|
||
|
|
|
|
|
|
| Suosikit | Tilausnumero: | Akselitiiviste materiaali | ANSI-laippaliitos | BSP-liitin | Differentiaalipaine | DIN-laippaliitos | Juoksupyörän materiaali | Jännite | Kulutuslevy materiaali | Liitäntä | Materiaali | Max. järjestelmän paine | Max. käyttölämpötila | Max. virtaus | Nopeus | Normaalisti varastossa oleva tuote | Paino | Particle size | Teho (P2) | Hinta | |
|---|---|---|---|---|---|---|---|---|---|---|---|---|---|---|---|---|---|---|---|---|---|
|
Keskipakopumppu 1,1kW 2900rpm
Tuotenumero:
S40G31T
Kopioitu!
|
Keraaminen, SIC, Viton
|
|
|
14
|
|
Valurauta
|
230/400V
|
Teräs
|
1 1/2"
|
Valurauta
|
|
70 °C
|
22,5 m³/h
|
2900 rpm
|
Kyllä
|
|
20mm
|
1,1 kW
|
| ||
Keskipakopumppu 1,1kW 2900rpm
Tuotenumero:
S40G31T+F
Kopioitu!
|
Keraaminen, SIC, Viton
|
ASA125 1 1/2"
|
|
14
|
|
Valurauta
|
230/400V
|
Teräs
|
DN40 PN16
|
Valurauta
|
|
70 °C
|
22,5 m³/h
|
2900 rpm
|
|
|
20mm
|
1,1 kW
|
| ||
Keskipakopumppu 1,1kW 2900rpm
Tuotenumero:
S40G31BBT
Kopioitu!
|
Keraaminen, SIC, Viton
|
|
|
14,5
|
|
Valurauta
|
230/400V
|
Teräs
|
1 1/2"
|
Valurauta
|
|
130 °C
|
22,5 m³/h
|
2900 rpm
|
|
|
20mm
|
1,1 kW
|
| ||
|
Keskipakopumppu 1,1kW 2900rpm
Tuotenumero:
S40G31M
Kopioitu!
|
Keraaminen, SIC, Viton
|
|
|
14
|
|
Valurauta
|
230V enfas
|
Teräs
|
1 1/2"
|
Valurauta
|
|
70 °C
|
22,5 m³/h
|
2900 rpm
|
|
|
20mm
|
1,1 kW
|
| ||
|
Keskipakopumppu 1,1kW 2900rpm
Tuotenumero:
S40F31T
Kopioitu!
|
Keraaminen, SIC, Viton
|
|
|
14,5
|
|
SS 316
|
230/400V
|
SS 316
|
1 1/2"
|
Valurauta
|
6 bar
|
70 °C
|
22,5 m³/h
|
2900 rpm
|
|
|
20
|
1,1 kW
|
| ||
Keskipakopumppu 1,1kW 2900rpm
Tuotenumero:
S40F31T+F
Kopioitu!
|
Keraaminen, SIC, Viton
|
ASA125 1 1/2"
|
|
14,5
|
|
SS 316
|
230/400V
|
SS 316
|
DN40 PN16
|
Valurauta
|
6 bar
|
70 °C
|
22,5 m³/h
|
2900 rpm
|
|
|
20
|
1,1 kW
|
| ||
Keskipakopumppu S40 1,1kW 2800rpm
Tuotenumero:
S40F31M+SG
Kopioitu!
|
Keraaminen, SIC, Viton
|
|
|
14,5
|
|
SS 316
|
230V
|
SS 316
|
1 1/2"
|
Valurauta
|
6 bar
|
70 °C
|
22,5 m³/h
|
2800 rpm
|
|
|
20
|
1,1 kW
|
| ||
Keskipakopumppu 1,1kW 2800rpm
Tuotenumero:
S40F31BBT
Kopioitu!
|
Keraaminen, SIC, Viton
|
|
|
14,5
|
|
SS 316
|
230/400V
|
SS 316
|
1 1/2"
|
Valurauta
|
6 bar
|
70 °C
|
22,5 m³/h
|
2900 rpm
|
|
|
20
|
1,1 kW
|
| ||
|
Keskipakopumppu 1,1kW 2800rpm
Tuotenumero:
S40F31BBT+F
Kopioitu!
|
Keraaminen, SIC, Viton
|
ASA125 1 1/2"
|
|
14,5
|
|
SS 316
|
230/400V
|
SS 316
|
DN40 PN16
|
Valurauta
|
6 bar
|
70 °C
|
22,5 m³/h
|
2800 rpm
|
|
|
20
|
1,1 kW
|
| ||
Keskipakopumppu S 40, jossa moottori on asennettu pohjalevyyn
Tuotenumero:
S40G31B/T
Kopioitu!
|
Keraaminen, SIC, Viton
|
|
|
14,5
|
|
Valurauta
|
230/400V
|
Teräs
|
1 1/2"
|
Valurauta
|
|
130 °C
|
22,5 m³/h
|
2900 rpm
|
|
|
20mm
|
1,1 kW
|
| ||
|
Keskipakopumppu S 40, jossa moottori on asennettu pohjalevyyn
Tuotenumero:
S40G31B/T+F
Kopioitu!
|
Keraaminen, SIC, Viton
|
ASA125 1 1/2"
|
|
14,5
|
|
Valurauta
|
230/400V
|
Teräs
|
DN40 PN16
|
Valurauta
|
|
130 °C
|
22,5 m³/h
|
2900 rpm
|
|
|
20mm
|
1,1 kW
|
| ||
|
Keskipakopumppu 2,2kW 2900rpm
Tuotenumero:
S45+50G31T
Kopioitu!
|
Keraaminen, SIC, Viton
|
|
|
30
|
|
Valurauta
|
230/400V
|
Teräs
|
1 1/2"
|
Valurauta
|
|
70 °C
|
24 m³/h
|
2900 rpm
|
Kyllä
|
|
15mm
|
2,2 kW
|
| ||
Keskipakopumppu 2,2kW 2900rpm
Tuotenumero:
S45+50G31T+F
Kopioitu!
|
Keraaminen, SIC, Viton
|
ASA125 1 1/2"
|
|
30
|
|
Valurauta
|
230/400V
|
Teräs
|
DN40 PN16
|
Valurauta
|
|
70 °C
|
24 m³/h
|
2900 rpm
|
|
|
15mm
|
2,2 kW
|
| ||
|
Keskipakopumppu 2,2kW 2900rpm
Tuotenumero:
S45F31T
Kopioitu!
|
Keraaminen, SIC, Viton
|
|
|
30
|
|
SS 316
|
230/400V
|
SS 316
|
1 1/2"
|
Valurauta
|
6 bar
|
70 °C
|
24 m³/h
|
2900 rpm
|
|
|
15
|
2,2 kW
|
| ||
Keskipakopumppu 2,2kW 2900rpm
Tuotenumero:
S45F31T+F
Kopioitu!
|
Grafiitti, SIC, Viton
|
|
|
30
|
|
SS 316
|
230/400V
|
SS 316
|
1 1/2"
|
Valurauta sinkkianodilla
|
6 bar
|
70 °C
|
24 m³/h
|
2900 rpm
|
|
|
15
|
2,2 kW
|
| ||
Keskipakopumppu 2,2kW 2900rpm
Tuotenumero:
S45+50G31BBT
Kopioitu!
|
Keraaminen, SIC, Viton
|
|
1 1/2"
|
30
|
1 1/2"
|
Valurauta
|
230/400V
|
Teräs
|
1 1/2"
|
Valurauta
|
|
130 °C
|
24 m³/h
|
2900 rpm
|
|
|
15mm
|
2,2 kW
|
| ||
Keskipakopumppu 4kW 2900rpm
Tuotenumero:
S45+70G31BBT
Kopioitu!
|
Keraaminen, SIC, Viton
|
|
1 1/2"
|
40
|
|
Valurauta
|
400/690V
|
Teräs
|
1 1/2"
|
Valurauta
|
|
130 °C
|
27 m³/h
|
2900 rpm
|
|
|
14mm
|
4 kW
|
| ||
Keskipakopumppu 2,2kW 2900rpm
Tuotenumero:
S45F31BBT
Kopioitu!
|
Keraaminen, SIC, Viton
|
|
|
30
|
|
SS 316
|
230/400V
|
SS 316
|
1 1/2"
|
Valurauta
|
6 bar
|
130 °C
|
24 m³/h
|
2900 rpm
|
|
|
15
|
2,2 kW
|
| ||
|
Keskipakopumppu 2,2kW 2900rpm
Tuotenumero:
S45F31BBT+F
Kopioitu!
|
Keraaminen, SIC, Viton
|
|
|
30
|
|
SS 316
|
230/400V
|
SS 316
|
1 1/2"
|
Valurauta
|
6 bar
|
130 °C
|
24 m³/h
|
2900 rpm
|
|
|
15
|
2,2 kW
|
| ||
|
Keskipakopumppu 2,2kW 2900rpm
Tuotenumero:
S50G31T
Kopioitu!
|
Keraaminen, SIC, Viton
|
|
|
16,5
|
|
Valurauta
|
230/400V
|
Teräs
|
2"
|
Valurauta
|
|
70 °C
|
40 m³/h
|
2900 rpm
|
Kyllä
|
|
25mm
|
2,2 kW
|
| ||
Keskipakopumppu 2,2kW 2900rpm
Tuotenumero:
S50G31T+F
Kopioitu!
|
Keraaminen, SIC, Viton
|
ASA125 2"
|
|
14,5
|
|
Valurauta
|
230/400V
|
Teräs
|
DN50 PN16
|
Valurauta
|
|
70 °C
|
40 m³/h
|
2900 rpm
|
|
|
25mm
|
2,2 kW
|
| ||
|
Keskipakopumppu 2,2kW 2900rpm
Tuotenumero:
S50F31T
Kopioitu!
|
Keraaminen, SIC, Viton
|
|
|
16,5
|
|
SS 316
|
230/400V
|
SS 316
|
2"
|
Valurauta
|
6 bar
|
70 °C
|
40 m³/h
|
2900 rpm
|
|
|
25
|
2,2 kW
|
| ||
Keskipakopumppu 2,2kW 2900rpm
Tuotenumero:
S50F31T+F
Kopioitu!
|
Keraaminen, SIC, Viton
|
ASA125 2"
|
|
16,5
|
|
SS 316
|
230/400V
|
SS 316
|
DN50 PN16
|
Valurauta
|
6 bar
|
70 °C
|
40 m³/h
|
2900 rpm
|
|
|
25
|
2,2 kW
|
| ||
Keskipakopumppu 2,2kW 2900rpm
Tuotenumero:
S50G31BBT
Kopioitu!
|
Keraaminen, SIC, Viton
|
|
|
16,5
|
|
Valurauta
|
230/400V
|
Teräs
|
2"
|
Valurauta
|
|
130 °C
|
40 m³/h
|
2900 rpm
|
|
|
25mm
|
2,2 kW
|
| ||
Keskipakopumppu 2,2kW 2900rpm
Tuotenumero:
S50F31BBT
Kopioitu!
|
Keraaminen, SIC, Viton
|
|
|
16,5
|
|
SS 316
|
230/400V
|
SS 316
|
2"
|
Valurauta
|
6 bar
|
130 °C
|
40 m³/h
|
2900 rpm
|
|
|
25
|
2,2 kW
|
| ||
|
Keskipakopumppu 2,2kW 2900rpm
Tuotenumero:
S50F31BBT+F
Kopioitu!
|
Keraaminen, SIC, Viton
|
ASA125 2"
|
|
16,5
|
|
SS 316
|
230/400V
|
SS 316
|
DN50 PN16
|
Valurauta
|
6 bar
|
130 °C
|
40 m³/h
|
2900 rpm
|
|
|
25
|
2,2 kW
|
| ||
|
Keskipakopumppu 4kW 2900rpm
Tuotenumero:
S60+50G31T
Kopioitu!
|
Keraaminen, SIC, Viton
|
|
|
37,5
|
|
Valurauta
|
400/690V
|
Teräs
|
2"
|
Valurauta
|
|
70 °C
|
42,5 m³/h
|
2900 rpm
|
Kyllä
|
|
24
|
4 kW
|
| ||
Keskipakopumppu 4kW 2900rpm
Tuotenumero:
S60+50G31T+F
Kopioitu!
|
Keraaminen, SIC, Viton
|
ASA125 2"
|
|
37,5
|
|
Valurauta
|
400/690V
|
Teräs
|
DN50 PN16
|
Valurauta
|
|
70 °C
|
42,5 m³/h
|
2900 rpm
|
|
|
24
|
4 kW
|
| ||
Keskipakopumppu 4kW 2900rpm
Tuotenumero:
S60+50G31BBT
Kopioitu!
|
Keraaminen, SIC, Viton
|
|
|
31,5
|
|
Valurauta
|
400/690V
|
Teräs
|
2"
|
Valurauta
|
|
130 °C
|
45 m³/h
|
2900 rpm
|
|
|
24
|
4 kW
|
| ||
|
Keskipakopumppu 4kW 2900rpm
Tuotenumero:
S60+50F31T
Kopioitu!
|
Keraaminen, SIC, Viton
|
|
|
31,5
|
|
SS 316
|
400/690V
|
SS 316
|
2"
|
Valurauta
|
6 bar
|
70 °C
|
45 m³/h
|
2900 rpm
|
|
|
24
|
4 kW
|
| ||
Keskipakopumppu 4kW 2900rpm
Tuotenumero:
S60+50F31T+F
Kopioitu!
|
Keraaminen, SIC, Viton
|
ASA125 2"
|
|
31,5
|
|
SS 316
|
400/690V
|
SS 316
|
DN50 PN16
|
Valurauta
|
6 bar
|
70 °C
|
45 m³/h
|
2900 rpm
|
|
|
24
|
4 kW
|
| ||
|
Keskipakopumppu 4kW 2900rpm
Tuotenumero:
S60+50F31BBT+F
Kopioitu!
|
Keraaminen, SIC, Viton
|
ASA125 2"
|
|
31,5
|
|
SS 316
|
400/690V
|
SS 316
|
DN50 PN16
|
Valurauta
|
6 bar
|
130 °C
|
45 m³/h
|
2900 rpm
|
|
|
24
|
4 kW
|
| ||
|
Keskipakopumppu 7,5kW 2900rpm
Tuotenumero:
S63G31T
Kopioitu!
|
Keraaminen, SIC, Viton
|
|
|
48
|
|
Valurauta
|
400/690V
|
Teräs
|
2"
|
Valurauta
|
|
70 °C
|
47 m³/h
|
2900 rpm
|
|
|
22mm
|
7,5 kW
|
| ||
Keskipakopumppu 7,5kW 2900rpm
Tuotenumero:
S63G31T+F
Kopioitu!
|
Keraaminen, SIC, Viton
|
ASA125 2"
|
|
48
|
|
Valurauta
|
400/690V
|
Teräs
|
DN50 PN16
|
Valurauta
|
|
70 °C
|
47 m³/h
|
2900 rpm
|
|
|
22mm
|
7,5 kW
|
| ||
|
Keskipakopumppu 7,5kW 2900rpm
Tuotenumero:
S63F31T
Kopioitu!
|
Keraaminen, SIC, Viton
|
|
|
48
|
|
SS 316
|
400/690V
|
SS 316
|
2"
|
Valurauta
|
6 bar
|
70 °C
|
47 m³/h
|
2900 rpm
|
|
|
22
|
7,5 kW
|
| ||
Keskipakopumppu 7,5kW 2900rpm
Tuotenumero:
S63F31T+F
Kopioitu!
|
Keraaminen, SIC, Viton
|
ASA125 2"
|
|
48
|
|
SS 316
|
400/690V
|
SS 316
|
DN50 PN16
|
Valurauta
|
6 bar
|
70 °C
|
47 m³/h
|
2900 rpm
|
|
|
22
|
7,5 kW
|
| ||
Keskipakopumppu 7,5kW 2900rpm
Tuotenumero:
S63G31BBT
Kopioitu!
|
Keraaminen, SIC, Viton
|
|
|
48
|
|
Valurauta
|
400/690V
|
Teräs
|
2"
|
Valurauta
|
|
130 °C
|
47 m³/h
|
2900 rpm
|
|
|
22mm
|
7,5 kW
|
| ||
Keskipakopumppu 7,5kW 2900rpm
Tuotenumero:
S63F31BBT
Kopioitu!
|
Keraaminen, SIC, Viton
|
|
|
48
|
|
SS 316
|
400/690V
|
SS 316
|
2"
|
Valurauta
|
6 bar
|
130 °C
|
47 m³/h
|
2900 rpm
|
|
|
22
|
7,5 kW
|
| ||
|
Keskipakopumppu 7,5kW 2900rpm
Tuotenumero:
S63F31BBT+F
Kopioitu!
|
Keraaminen, SIC, Viton
|
ASA125 2"
|
|
48
|
|
SS 316
|
400/690V
|
SS 316
|
DN50 PN16
|
Valurauta
|
6 bar
|
130 °C
|
47 m³/h
|
2900 rpm
|
|
|
22
|
7,5 kW
|
| ||
|
Keskipakopumppu 2,2kW 1450rpm
Tuotenumero:
S65G31T
Kopioitu!
|
Keraaminen, SIC, Viton
|
|
|
14
|
|
Valurauta
|
400/690V
|
Teräs
|
2"
|
Valurauta
|
|
70 °C
|
40 m³/h
|
1450 rpm
|
|
|
25mm
|
2,2 kW
|
| ||
|
Keskipakopumppu 2,2kW 1450rpm
Tuotenumero:
S65F31T
Kopioitu!
|
Keraaminen, SIC, Viton
|
|
|
14
|
|
SS 316
|
230/400V
|
SS 316
|
2"
|
Valurauta
|
6 bar
|
70 °C
|
40 m³/h
|
1450 rpm
|
|
|
25
|
2,2 kW
|
| ||
Keskipakopumppu 2,2kW 1450rpm
Tuotenumero:
S65F31T+F
Kopioitu!
|
Keraaminen, SIC, Viton
|
|
|
14
|
|
SS 316
|
230/400V
|
SS 316
|
2"
|
Valurauta
|
6 bar
|
70 °C
|
40 m³/h
|
1450 rpm
|
|
|
25
|
2,2 kW
|
| ||
|
Keskipakopumppu 11kW 2900rpm
Tuotenumero:
S68G31T
Kopioitu!
|
Keraaminen, SIC, Viton
|
|
|
60
|
|
Valurauta
|
400/690V
|
Teräs
|
2"
|
Valurauta
|
|
70 °C
|
55 m³/h
|
2900 rpm
|
|
|
25mm
|
11 kW
|
| ||
Keskipakopumppu 11kW 1450rpm
Tuotenumero:
S68G31T+F
Kopioitu!
|
Keraaminen, SIC, Viton
|
ASA125 2"
|
|
60
|
|
Valurauta
|
400/690V
|
Teräs
|
DN50 PN16
|
Valurauta
|
|
70 °C
|
55 m³/h
|
2900 rpm
|
|
|
25mm
|
11 kW
|
| ||
|
Keskipakopumppu 11kW 2900rpm
Tuotenumero:
S68F31T
Kopioitu!
|
Keraaminen, SIC, Viton
|
|
|
60
|
|
SS 316
|
400/690V
|
SS 316
|
2"
|
Valurauta
|
6 bar
|
70 °C
|
55 m³/h
|
2900 rpm
|
|
|
25
|
11 kW
|
| ||
Keskipakopumppu 11kW 2900rpm
Tuotenumero:
S68F31T+F
Kopioitu!
|
Keraaminen, SIC, Viton
|
|
|
60
|
|
SS 316
|
400/690V
|
SS 316
|
DN50 PN16
|
Valurauta
|
6 bar
|
70 °C
|
55 m³/h
|
2900 rpm
|
|
|
25
|
11 kW
|
| ||
Keskipakopumppu 11kW 2900rpm
Tuotenumero:
S68G31BBT
Kopioitu!
|
Keraaminen, SIC, Viton
|
|
|
60
|
|
Valurauta
|
400/690V
|
Teräs
|
2"
|
Valurauta
|
|
130 °C
|
55 m³/h
|
2900 rpm
|
|
|
25mm
|
11 kW
|
| ||
Keskipakopumppu 11kW 2900rpm
Tuotenumero:
S68F31BBT
Kopioitu!
|
Keraaminen, SIC, Viton
|
|
|
60
|
|
SS 316
|
400/690V
|
SS 316
|
2"
|
Valurauta
|
6 bar
|
130 °C
|
55 m³/h
|
2900 rpm
|
|
|
25
|
11 kW
|
| ||
|
Keskipakopumppu 11kW 2900rpm
Tuotenumero:
S68F31BBT+F
Kopioitu!
|
Keraaminen, SIC, Viton
|
ASA125 2"
|
|
60
|
|
SS 316
|
400/690V
|
SS 316
|
DN50 PN16
|
Valurauta
|
6 bar
|
130 °C
|
55 m³/h
|
2900 rpm
|
|
|
25
|
11 kW
|
| ||
|
Keskipakopumppu 4kW 2900rpm
Tuotenumero:
S80G31T
Kopioitu!
|
Keraaminen, SIC, Viton
|
|
|
20
|
|
Valurauta
|
400/690V
|
Teräs
|
3"
|
Valurauta
|
|
70 °C
|
72 m³/h
|
2900 rpm
|
Kyllä
|
|
32mm
|
4 kW
|
| ||
Keskipakopumppu 4kW 2900rpm
Tuotenumero:
S80G31T+F
Kopioitu!
|
Keraaminen, SIC, Viton
|
ASA125 3"
|
|
20
|
|
Valurauta
|
400/690V
|
Teräs
|
DN80 PN16
|
Valurauta
|
|
70 °C
|
72 m³/h
|
2900 rpm
|
|
|
32mm
|
4 kW
|
| ||
|
Keskipakopumppu 4kW 2900rpm
Tuotenumero:
S80F31T
Kopioitu!
|
Keraaminen, SIC, Viton
|
|
3"
|
20
|
|
SS 316
|
400/690V
|
SS 316
|
3"
|
Valurauta
|
6 bar
|
70 °C
|
72 m³/h
|
2900 rpm
|
|
|
32
|
4 kW
|
| ||
Keskipakopumppu 4kW 2900rpm
Tuotenumero:
S80F31T+F
Kopioitu!
|
Keraaminen, SIC, Viton
|
ASA125 3"
|
|
20
|
DN80 PN16
|
SS 316
|
400/690V
|
SS 316
|
DN80 PN16
|
Valurauta
|
6 bar
|
70 °C
|
72 m³/h
|
2900 rpm
|
|
|
32
|
4 kW
|
| ||
Keskipakopumppu 4kW 2900rpm
Tuotenumero:
S80G31BBT
Kopioitu!
|
Keraaminen, SIC, Viton
|
|
|
20
|
|
Valurauta
|
400/690V
|
Teräs
|
3"
|
Valurauta
|
|
130 °C
|
72 m³/h
|
2900 rpm
|
|
|
32mm
|
4 kW
|
| ||
Keskipakopumppu 4kW 2900rpm
Tuotenumero:
S80F31BBT
Kopioitu!
|
Keraaminen, SIC, Viton
|
|
|
20
|
|
SS 316
|
400/690V
|
SS 316
|
3"
|
Valurauta
|
6 bar
|
130 °C
|
72 m³/h
|
2900 rpm
|
|
|
32
|
4 kW
|
| ||
|
Keskipakopumppu 4kW 2900rpm
Tuotenumero:
S80F31BBT+F
Kopioitu!
|
Keraaminen, SIC, Viton
|
|
|
20
|
|
SS 316
|
400/690V
|
SS 316
|
DN80 PN16
|
Valurauta
|
6 bar
|
130 °C
|
72 m³/h
|
2900 rpm
|
|
|
32
|
4 kW
|
| ||
|
Keskipakopumppu 7,5kW 2900rpm
Tuotenumero:
S83G31T
Kopioitu!
|
Keraaminen, SIC, Viton
|
|
|
35
|
|
Valurauta
|
400/690V
|
Teräs
|
3"
|
Valurauta
|
|
70 °C
|
85 m³/h
|
2900 rpm
|
|
|
27mm
|
7,5 kW
|
| ||
Keskipakopumppu 7,5kW 2900rpm
Tuotenumero:
S83G31T+F
Kopioitu!
|
Keraaminen, SIC, Viton
|
ASA125 3"
|
|
35
|
|
Valurauta
|
400/690V
|
Teräs
|
DN80 PN16
|
Valurauta
|
|
70 °C
|
85 m³/h
|
2900 rpm
|
|
|
27mm
|
7,5 kW
|
| ||
|
Keskipakopumppu 7,5kW 2900rpm
Tuotenumero:
S83F31T
Kopioitu!
|
Keraaminen, SIC, Viton
|
|
|
35
|
|
SS 316
|
400/690V
|
SS 316
|
3"
|
Valurauta
|
6 bar
|
70 °C
|
85 m³/h
|
2900 rpm
|
|
|
27
|
7,5 kW
|
| ||
Keskipakopumppu 7,5kW 2900rpm
Tuotenumero:
S83F31T+F
Kopioitu!
|
Keraaminen, SIC, Viton
|
ASA125 3"
|
|
35
|
|
SS 316
|
400/690V
|
SS 316
|
DN80 PN16
|
Valurauta
|
6 bar
|
70 °C
|
85 m³/h
|
2900 rpm
|
|
|
27
|
7,5 kW
|
| ||
Keskipakopumppu 7,5kW 2900rpm
Tuotenumero:
S83G31BBT
Kopioitu!
|
Keraaminen, SIC, Viton
|
|
|
35
|
|
Valurauta
|
400/690V
|
Teräs
|
3"
|
Valurauta
|
|
130 °C
|
85 m³/h
|
2900 rpm
|
|
|
27mm
|
7,5 kW
|
| ||
Keskipakopumppu 7,5kW 2900rpm
Tuotenumero:
S83F31BBT
Kopioitu!
|
Keraaminen, SIC, Viton
|
|
|
35
|
|
SS 316
|
400/690V
|
SS 316
|
3"
|
Valurauta
|
6 bar
|
130 °C
|
85 m³/h
|
2900 rpm
|
|
|
27
|
7,5 kW
|
| ||
|
Keskipakopumppu 7,5kW 2900rpm
Tuotenumero:
S83F31BBT+F
Kopioitu!
|
Keraaminen, SIC, Viton
|
|
|
35
|
|
SS 316
|
400/690V
|
SS 316
|
DN80 PN16
|
Valurauta
|
6 bar
|
130 °C
|
85 m³/h
|
2900 rpm
|
|
|
27
|
7,5 kW
|
| ||
|
Keskipakopumppu 4kW 1450rpm
Tuotenumero:
S85G31T
Kopioitu!
|
Keraaminen, SIC, Viton
|
|
|
14,5
|
|
Valurauta
|
400/690V
|
Teräs
|
3"
|
Valurauta
|
|
70 °C
|
80 m³/h
|
1450 rpm
|
|
|
40
|
4 kW
|
| ||
Keskipakopumppu 4kW 1450rpm
Tuotenumero:
S85G31T+F
Kopioitu!
|
Keraaminen, SIC, Viton
|
ASA125 3"
|
|
14,5
|
|
Valurauta
|
400/690V
|
Teräs
|
DN80 PN16
|
Valurauta
|
|
70 °C
|
80 m³/h
|
1450 rpm
|
|
|
40mm
|
4 kW
|
| ||
|
Keskipakopumppu 4kW 1450rpm
Tuotenumero:
S85F31T
Kopioitu!
|
Keraaminen, SIC, Viton
|
|
|
14,5
|
|
SS 316
|
40/690V
|
SS 316
|
3"
|
Valurauta
|
6 bar
|
70 °C
|
80 m³/h
|
1450 rpm
|
|
|
40
|
4 kW
|
| ||
Keskipakopumppu 4kW 1450rpm
Tuotenumero:
S85F31T+F
Kopioitu!
|
Keraaminen, SIC, Viton
|
|
|
14,5
|
|
SS 316
|
400/690V
|
SS 316
|
DN80 PN16
|
Valurauta
|
6 bar
|
70 °C
|
80 m³/h
|
1450 rpm
|
|
|
40
|
4 kW
|
| ||
|
Keskipakopumppu 15kW 2900rpm
Tuotenumero:
S88G31T
Kopioitu!
|
Keraaminen, SIC, Viton
|
|
|
52
|
|
Valurauta
|
400/690V
|
Teräs
|
3"
|
Valurauta
|
|
70 °C
|
100 m³/h
|
2900 rpm
|
|
|
35
|
15 kW
|
| ||
Keskipakopumppu 15kW 2900rpm
Tuotenumero:
S88G31T+F
Kopioitu!
|
Keraaminen, SIC, Viton
|
ASA125 3"
|
|
51,5
|
|
Valurauta
|
400/690V
|
Teräs
|
DN80 PN16
|
Valurauta
|
|
70 °C
|
100 m³/h
|
2900 rpm
|
|
|
35mm
|
15 kW
|
| ||
|
Keskipakopumppu 15kW 2900rpm
Tuotenumero:
S88F31T
Kopioitu!
|
Keraaminen, SIC, Viton
|
|
|
52
|
|
SS 316
|
400/690V
|
SS 316
|
3"
|
Valurauta
|
6 bar
|
70 °C
|
100 m³/h
|
2900 rpm
|
|
|
35
|
15 kW
|
| ||
Keskipakopumppu 15kW 2900rpm
Tuotenumero:
S88F31T+F
Kopioitu!
|
Keraaminen, SIC, Viton
|
ASA125 3"
|
|
52
|
|
SS 316
|
400/690V
|
SS 316
|
DN80 PN16
|
Valurauta
|
6 bar
|
70 °C
|
100 m³/h
|
2900 rpm
|
|
|
35
|
15 kW
|
| ||
Keskipakopumppu 15kW 2900rpm
Tuotenumero:
S88G31BBT
Kopioitu!
|
Keraaminen, SIC, Viton
|
|
|
51,5
|
|
Valurauta
|
400/690V
|
Teräs
|
3"
|
Valurauta
|
|
130 °C
|
100 m³/h
|
2900 rpm
|
|
|
35
|
15 kW
|
| ||
Keskipakopumppu 15kW 2900rpm
Tuotenumero:
S88F31BBT
Kopioitu!
|
Keraaminen, SIC, Viton
|
|
|
52
|
|
SS 316
|
400/690V
|
SS 316
|
3"
|
Valurauta
|
6 bar
|
130 °C
|
100 m³/h
|
2900 rpm
|
|
|
35
|
15 kW
|
| ||
|
Keskipakopumppu 15kW 2900rpm
Tuotenumero:
S88F31BBT+F
Kopioitu!
|
Keraaminen, SIC, Viton
|
|
|
52
|
|
SS 316
|
400/690V
|
SS 316
|
DN80 PN16
|
Valurauta
|
6 bar
|
130 °C
|
100 m³/h
|
2900 rpm
|
|
|
35
|
15 kW
|
| ||
|
Keskipakopumppu 7,5kW 1450rpm
Tuotenumero:
S91G31T
Kopioitu!
|
Keraaminen, SIC, Viton
|
|
|
24
|
|
Valurauta
|
400/690V
|
Teräs
|
3"
|
Valurauta
|
|
70 °C
|
110 m³/h
|
1450 rpm
|
|
|
37
|
7,5 kW
|
| ||
Keskipakopumppu 7,5kW 1450rpm
Tuotenumero:
S91G31T+F
Kopioitu!
|
Keraaminen, SIC, Viton
|
|
|
24
|
|
Valurauta
|
400/690V
|
Teräs
|
DN80 PN16
|
Valurauta
|
|
70 °C
|
110 m³/h
|
1450 rpm
|
|
|
37mm
|
7,5 kW
|
| ||
|
Keskipakopumppu 7,5kW 1450rpm
Tuotenumero:
S91F31T
Kopioitu!
|
Keraaminen, SIC, Viton
|
|
|
24
|
|
SS 316
|
400/690V
|
SS 316
|
3"
|
Valurauta
|
6 bar
|
70 °C
|
110 m³/h
|
1450 rpm
|
|
|
40
|
7,5 kW
|
| ||
|
Keskipakopumppu 7,5kW 1450rpm
Tuotenumero:
S91F31T+F
Kopioitu!
|
Keraaminen, SIC, Viton
|
|
|
24
|
|
SS 316
|
400/690V
|
SS 316
|
3"
|
Valurauta
|
6 bar
|
70 °C
|
110 m³/h
|
1450 rpm
|
|
|
40
|
7,5 kW
|
| ||
|
Keskipakopumppu 11kW 2900rpm
Tuotenumero:
S100G31T
Kopioitu!
|
Keraaminen, SIC, Viton
|
|
|
24
|
|
Valurauta
|
400/690V
|
Teräs
|
4"
|
Valurauta
|
|
70 °C
|
140 m³/h
|
2950 rpm
|
|
|
37mm
|
11 kW
|
| ||
|
Keskipakopumppu 11kW 2900rpm
Tuotenumero:
S100G31T+F
Kopioitu!
|
Keraaminen, SIC, Viton
|
|
|
24
|
|
Valurauta
|
400/690V
|
Teräs
|
DN100 PN16
|
Valurauta
|
|
70 °C
|
140 m³/h
|
2950 rpm
|
|
|
37
|
11 kW
|
| ||
|
Keskipakopumppu 11kW 2900rpm
Tuotenumero:
S100F31T
Kopioitu!
|
Keraaminen, SIC, Viton
|
|
|
24
|
|
SS 316
|
400/690V
|
SS 316
|
4"
|
Valurauta
|
6 bar
|
70 °C
|
140 m³/h
|
2950 rpm
|
|
|
37
|
11 kW
|
| ||
|
Keskipakopumppu 11kW 2900rpm
Tuotenumero:
S100F31T+F
Kopioitu!
|
Keraaminen, SIC, Viton
|
ASA125 4"
|
|
24
|
|
SS 316
|
400/690V
|
SS 316
|
DN100 PN16
|
Valurauta
|
6 bar
|
70 °C
|
140 m³/h
|
2950 rpm
|
|
|
37
|
11 kW
|
| ||
|
Keskipakopumppu 11kW 2900rpm
Tuotenumero:
S100G31BBT
Kopioitu!
|
Keraaminen, SIC, Viton
|
|
|
24
|
|
Valurauta
|
400/690V
|
Teräs
|
4"
|
Valurauta
|
6 bar
|
130 °C
|
140 m³/h
|
2950 rpm
|
|
|
37
|
11 kW
|
| ||
|
Keskipakopumppu 11kW 2900rpm
Tuotenumero:
S100F31BBT
Kopioitu!
|
Keraaminen, SIC, Viton
|
|
|
24
|
|
SS 316
|
400/690V
|
SS 316
|
4"
|
Valurauta
|
6 bar
|
130 °C
|
140 m³/h
|
2950 rpm
|
|
|
37
|
11 kW
|
| ||
|
Keskipakopumppu 11kW 2900rpm
Tuotenumero:
S100F31BBT+F
Kopioitu!
|
Keraaminen, SIC, Viton
|
|
|
24
|
|
SS 316
|
400/690V
|
SS 316
|
4"
|
Valurauta
|
6 bar
|
130 °C
|
140 m³/h
|
2950 rpm
|
|
|
37
|
11 kW
|
| ||
Keskipakopumppu 5,5kW 1450rpm
Tuotenumero:
S105G31T
Kopioitu!
|
Keraaminen, SIC, Viton
|
|
|
13,5
|
|
Valurauta
|
400/690V
|
Teräs
|
4"
|
Valurauta
|
|
70 °C
|
150 m³/h
|
1460 rpm
|
|
|
45mm
|
5,5 kW
|
| ||
|
Keskipakopumppu 5,5kW 1450rpm
Tuotenumero:
S105G31T+F
Kopioitu!
|
Keraaminen, SIC, Viton
|
|
|
13,5
|
|
Valurauta
|
400/690V
|
Teräs
|
DN100 PN16
|
Valurauta
|
|
70 °C
|
150 m³/h
|
1460 rpm
|
|
|
45mm
|
5,5 kW
|
| ||
|
Keskipakopumppu 5,5kW 1450rpm
Tuotenumero:
S105F31T
Kopioitu!
|
Keraaminen, SIC, Viton
|
|
|
13,5
|
|
SS 316
|
400/690V
|
SS 316
|
4"
|
Valurauta
|
6 bar
|
70 °C
|
150 m³/h
|
1460 rpm
|
|
|
45
|
5,5 kW
|
| ||
|
Keskipakopumppu 5,5kW 1450rpm
Tuotenumero:
S105F31T+F
Kopioitu!
|
Keraaminen, SIC, Viton
|
ASA125 4"
|
|
13,5
|
|
SS 316
|
400/690V
|
SS 316
|
DN100 PN16
|
Valurauta
|
6 bar
|
70 °C
|
150 m³/h
|
1460 rpm
|
|
|
45
|
5,5 kW
|
| ||
|
Keskipakopumppu 18,5kW 2900rpm
Tuotenumero:
S108G31BBT
Kopioitu!
|
Keraaminen, SIC, Viton
|
|
|
48
|
|
Valurauta
|
400/690V
|
Teräs
|
4"
|
Valurauta
|
|
130 °C
|
140 m³/h
|
2900 rpm
|
|
|
35
|
18,5 kW
|
| ||
|
Keskipakopumppu 22kW 2900rpm
Tuotenumero:
S108F31BBT
Kopioitu!
|
Keraaminen, SIC, Viton
|
|
|
43,5
|
|
SS 316
|
400/690V
|
SS 316
|
4"
|
Valurauta
|
6 bar
|
130 °C
|
140 m³/h
|
2900 rpm
|
|
|
35
|
22 kW
|
| ||
|
Keskipakopumppu 22kW 2900rpm
Tuotenumero:
S108F31BBT+F
Kopioitu!
|
Keraaminen, SIC, Viton
|
ASA125 4"
|
|
43,5
|
|
SS 316
|
400/690V
|
SS 316
|
DN100 PN16
|
Valurauta
|
6 bar
|
130 °C
|
140 m³/h
|
2900 rpm
|
|
|
35
|
22 kW
|
| ||
Keskipakopumppu 11kW 1450rpm
Tuotenumero:
S121G31T
Kopioitu!
|
Keraaminen, SIC, Viton
|
|
|
23,5
|
|
Valurauta
|
400/690V
|
Teräs
|
4"
|
Valurauta
|
|
70 °C
|
180 m³/h
|
1450 rpm
|
|
|
45mm
|
11 kW
|
| ||
Keskipakopumppu 11kW 1450rpm
Tuotenumero:
S121G31T+F
Kopioitu!
|
Keraaminen, SIC, Viton
|
|
|
23,5
|
|
Valurauta
|
400/690V
|
Teräs
|
DN100 PN16
|
Valurauta
|
|
70 °C
|
180 m³/h
|
1450 rpm
|
|
|
45mm
|
11 kW
|
| ||
|
Keskipakopumppu 11kW 1450rpm
Tuotenumero:
S121F31T
Kopioitu!
|
Keraaminen, SIC, Viton
|
|
|
23,5
|
|
SS 316
|
400/690V
|
SS 316
|
4"
|
Valurauta
|
6 bar
|
70 °C
|
180 m³/h
|
1450 rpm
|
|
|
45
|
11 kW
|
| ||
|
Keskipakopumppu 11kW 1450rpm
Tuotenumero:
S121F31T+F
Kopioitu!
|
Keraaminen, SIC, Viton
|
ASA125 4"
|
|
23,5
|
|
SS 316
|
400/690V
|
SS 316
|
DN100 PN16
|
Valurauta
|
6 bar
|
70 °C
|
180 m³/h
|
1450 rpm
|
|
|
45
|
11 kW
|
| ||
|
Keskipakopumppu 11kW 1450rpm
Tuotenumero:
S121G31BBT
Kopioitu!
|
Keraaminen, SIC, Viton
|
|
|
23,5
|
|
Valurauta
|
400/690V
|
Teräs
|
4"
|
Valurauta
|
|
130 °C
|
180 m³/h
|
1450 rpm
|
|
|
45mm
|
11 kW
|
| ||
|
Keskipakopumppu 11kW 1450rpm
Tuotenumero:
S121G31BBT+F
Kopioitu!
|
Keraaminen, SIC, Viton
|
|
|
23,5
|
|
Valurauta
|
400/690V
|
Teräs
|
DN100 PN16
|
Valurauta
|
|
130 °C
|
180 m³/h
|
1450 rpm
|
|
|
45mm
|
11 kW
|
| ||
|
Keskipakopumppu 11kW 1450rpm
Tuotenumero:
S121F31BBT
Kopioitu!
|
Keraaminen, SIC, Viton
|
|
|
23,5
|
|
SS 316
|
400/690V
|
SS 316
|
4"
|
Valurauta
|
6 bar
|
130 °C
|
180 m³/h
|
1450 rpm
|
|
|
45
|
11 kW
|
| ||
|
Keskipakopumppu 11kW 1450rpm
Tuotenumero:
S121F31BBT+F
Kopioitu!
|
Keraaminen, SIC, Viton
|
ASA125 4"
|
|
23,5
|
|
SS 316
|
400/690V
|
SS 316
|
DN100 PN16
|
Valurauta
|
6 bar
|
130 °C
|
180 m³/h
|
1450 rpm
|
|
|
45
|
11 kW
|
| ||
|
Keskipakopumppu 30kW 2900rpm
Tuotenumero:
S126G31B/T
Kopioitu!
|
Keraaminen, SIC, Viton
|
|
|
70
|
|
Valurauta
|
400/690V
|
Teräs
|
4"
|
Valurauta
|
|
70 °C
|
190 m³/h
|
2960 rpm
|
|
516 kg
|
43mm
|
30 kW
|
| ||
Keskipakopumppu 11kW 1450rpm
Tuotenumero:
S150G31T
Kopioitu!
|
Keraaminen, SIC, Viton
|
|
|
13
|
|
Valurauta
|
400/690V
|
Teräs
|
6"
|
Valurauta
|
|
70 °C
|
260 m³/h
|
1450 rpm
|
|
|
50mm
|
11 kW
|
| ||
Keskipakopumppu 11kW 1450rpm
Tuotenumero:
S150G31T+F
Kopioitu!
|
Keraaminen, SIC, Viton
|
ASA125 6"
|
|
13
|
|
Valurauta
|
400/690V
|
Teräs
|
DN150 PN16
|
Valurauta
|
|
70 °C
|
260 m³/h
|
1450 rpm
|
|
|
50mm
|
11 kW
|
| ||
|
Keskipakopumppu 11kW 1450rpm
Tuotenumero:
S150F31T
Kopioitu!
|
Keraaminen, SIC, Viton
|
|
|
13
|
|
SS 316
|
400/690V
|
SS 316
|
6"
|
Valurauta
|
6 bar
|
70 °C
|
260 m³/h
|
1450 rpm
|
|
|
50
|
11 kW
|
| ||
|
Keskipakopumppu 11kW 1450rpm
Tuotenumero:
S150F31T+F
Kopioitu!
|
Keraaminen, SIC, Viton
|
ASA125 6"
|
|
13
|
|
SS 316
|
400/690V
|
SS 316
|
DN150 PN16
|
Valurauta
|
6 bar
|
70 °C
|
260 m³/h
|
1450 rpm
|
|
|
50
|
11 kW
|
| ||
|
Keskipakopumppu 11kW 1450rpm
Tuotenumero:
S150G31BBT
Kopioitu!
|
Keraaminen, SIC, Viton
|
|
|
13
|
|
Valurauta
|
400/690V
|
Teräs
|
6"
|
Valurauta
|
|
130 °C
|
260 m³/h
|
1450 rpm
|
|
|
50mm
|
11 kW
|
| ||
|
Keskipakopumppu 11kW 1450rpm
Tuotenumero:
S150G31BBT+F
Kopioitu!
|
Keraaminen, SIC, Viton
|
ASA125 6"
|
|
13
|
|
Valurauta
|
400/690V
|
Teräs
|
DN50 PN16, DN150 PN16
|
Valurauta
|
|
130 °C
|
260 m³/h
|
1450 rpm
|
|
|
50mm
|
11 kW
|
| ||
|
Keskipakopumppu 11kW 1450rpm
Tuotenumero:
S150F31BBT
Kopioitu!
|
Keraaminen, SIC, Viton
|
|
|
13
|
|
SS 316
|
400/690V
|
SS 316
|
6"
|
Valurauta
|
6 bar
|
130 °C
|
260 m³/h
|
1450 rpm
|
|
|
50
|
11 kW
|
| ||
|
Keskipakopumppu 11kW 1450rpm
Tuotenumero:
S150F31BBT+F
Kopioitu!
|
Keraaminen, SIC, Viton
|
ASA125 6"
|
|
13
|
|
SS 316
|
400/690V
|
SS 316
|
DN150 PN16
|
Valurauta
|
6 bar
|
130 °C
|
260 m³/h
|
1450 rpm
|
|
|
50
|
11 kW
|
| ||
|
Keskipakopumppu 18,5kW 2900rpm
Tuotenumero:
S161G31T
Kopioitu!
|
Keraaminen, SIC, Viton
|
|
|
20
|
|
Valurauta
|
400/690V
|
Teräs
|
6"
|
Valurauta
|
|
70 °C
|
350 m³/h
|
1450 rpm
|
|
|
54mm
|
18,5 kW
|
| ||
|
Keskipakopumppu 18,5kW 2900rpm
Tuotenumero:
S161G31T+F
Kopioitu!
|
Keraaminen, SIC, Viton
|
6"
|
|
20
|
|
Valurauta
|
400/690V
|
Teräs
|
DN150 PN16
|
Valurauta
|
|
70 °C
|
350 m³/h
|
1450 rpm
|
|
|
54mm
|
18,5 kW
|
| ||
|
Keskipakopumppu 18,5kW 1450rpm
Tuotenumero:
S161F31T
Kopioitu!
|
Keraaminen, SIC, Viton
|
|
|
20,5
|
|
SS 316
|
400/690V
|
SS 316
|
6"
|
Valurauta
|
6 bar
|
70 °C
|
350 m³/h
|
1450 rpm
|
|
|
54
|
18,5 kW
|
| ||
|
Keskipakopumppu 18,5kW 1450rpm
Tuotenumero:
S161F31T+F
Kopioitu!
|
Keraaminen, SIC, Viton
|
ASA125 6"
|
|
20,5
|
|
SS 316
|
400/690V
|
SS 316
|
DN150 PN16
|
Valurauta
|
6 bar
|
70 °C
|
350 m³/h
|
1450 rpm
|
|
|
54
|
18,5 kW
|
| ||
|
Keskipakopumppu 18,5kW 2900rpm
Tuotenumero:
S161G31BBT
Kopioitu!
|
Keraaminen, SIC, Viton
|
|
|
20,5
|
|
Valurauta
|
400/690V
|
Teräs
|
6"
|
Valurauta
|
|
130 °C
|
350 m³/h
|
1450 rpm
|
|
|
54mm
|
18,5 kW
|
| ||
|
Keskipakopumppu 18,5kW 2900rpm
Tuotenumero:
S161G31BBT+F
Kopioitu!
|
Keraaminen, SIC, Viton
|
6"
|
|
20,5
|
|
Valurauta
|
400/690V
|
Teräs
|
DN150 PN16
|
Valurauta
|
|
130 °C
|
350 m³/h
|
1450 rpm
|
|
|
54mm
|
18,5 kW
|
| ||
|
Keskipakopumppu 18,5kW 1450rpm
Tuotenumero:
S161F31BBT
Kopioitu!
|
Keraaminen, SIC, Viton
|
|
|
20,5
|
|
SS 316
|
400/690V
|
SS 316
|
6"
|
Valurauta
|
6 bar
|
130 °C
|
350 m³/h
|
1450 rpm
|
|
|
54
|
18,5 kW
|
| ||
|
Keskipakopumppu 18,5kW 1450rpm
Tuotenumero:
S161F31BBT+F
Kopioitu!
|
Keraaminen, SIC, Viton
|
ASA125 6"
|
|
20,5
|
|
SS 316
|
400/690V
|
SS 316
|
DN150 PN16
|
Valurauta
|
6 bar
|
130 °C
|
350 m³/h
|
1450 rpm
|
|
|
54
|
18,5 kW
|
| ||
|
Keskipakopumppu 11kW 960rpm
Tuotenumero:
S170G31T
Kopioitu!
|
Keraaminen, SIC, Viton
|
|
|
16
|
|
Valurauta
|
400/690V
|
Teräs
|
6"
|
Valurauta
|
|
70 °C
|
300 m³/h
|
960 rpm
|
|
|
54mm
|
11 kW
|
| ||
|
Keskipakopumppu 11kW 960rpm
Tuotenumero:
S170G31T+F
Kopioitu!
|
Keraaminen, SIC, Viton
|
ASA125 6"
|
|
16
|
|
Valurauta
|
400/690V
|
Teräs
|
DN150 PN16
|
Valurauta
|
|
70 °C
|
300 m³/h
|
960 rpm
|
|
|
54mm
|
11 kW
|
| ||
|
Keskipakopumppu 11kW 960rpm
Tuotenumero:
S170F31T
Kopioitu!
|
Keraaminen, SIC, Viton
|
|
|
16
|
|
SS 316
|
400/690V
|
SS 316
|
6"
|
Valurauta
|
6 bar
|
70 °C
|
300 m³/h
|
960 rpm
|
|
|
54
|
11 kW
|
| ||
|
Keskipakopumppu 11kW 960rpm
Tuotenumero:
S170F31T+F
Kopioitu!
|
Keraaminen, SIC, Viton
|
ASA125 6"
|
|
16
|
|
SS 316
|
400/690V
|
SS 316
|
DN150 PN16
|
Valurauta
|
6 bar
|
70 °C
|
300 m³/h
|
960 rpm
|
|
|
54
|
11 kW
|
| ||
|
Keskipakopumppu 11kW 960rpm
Tuotenumero:
S170F31TBBT
Kopioitu!
|
Keraaminen, SIC, Viton
|
|
|
16
|
|
SS 316
|
400/690V
|
SS 316
|
6"
|
Valurauta
|
6 bar
|
70 °C
|
300 m³/h
|
960 rpm
|
|
|
54
|
11 kW
|
| ||
|
Keskipakopumppu 11kW 960rpm
Tuotenumero:
S170F31TBBT+F
Kopioitu!
|
Keraaminen, SIC, Viton
|
|
|
16
|
|
SS 316
|
400/690V
|
SS 316
|
DN150 PN16
|
Valurauta
|
6 bar
|
70 °C
|
300 m³/h
|
960 rpm
|
|
|
54
|
11 kW
|
| ||
|
Keskipakopumppu 30kW 1450rpm
Tuotenumero:
S180G31T
Kopioitu!
|
Keraaminen, SIC, Viton
|
|
|
34
|
|
Valurauta
|
400/690V
|
Teräs
|
6"
|
Valurauta
|
|
70 °C
|
360 m³/h
|
1450 rpm
|
|
|
40mm
|
30 kW
|
| ||
|
Keskipakopumppu 30kW 1450rpm
Tuotenumero:
S180G31T+F
Kopioitu!
|
Keraaminen, SIC, Viton
|
ASA125 6"
|
|
34
|
|
Valurauta
|
400/690V
|
Teräs
|
DN150 PN16
|
Valurauta
|
|
70 °C
|
360 m³/h
|
1450 rpm
|
|
|
40mm
|
30 kW
|
| ||
|
Keskipakopumppu 30kW 1450rpm
Tuotenumero:
S180F31T+F
Kopioitu!
|
Keraaminen, SIC, Viton
|
ASA125 6"
|
|
34
|
|
SS 316
|
400/690V
|
SS 316
|
DN150 PN16
|
Valurauta
|
6 bar
|
70 °C
|
360 m³/h
|
1450 rpm
|
|
|
40
|
30 kW
|
| ||
|
Keskipakopumppu 30kW 1450rpm
Tuotenumero:
S180F31T
Kopioitu!
|
Keraaminen, SIC, Viton
|
|
|
34
|
|
SS 316
|
400/690V
|
SS 316
|
6"
|
Valurauta
|
6 bar
|
70 °C
|
360 m³/h
|
1450 rpm
|
|
|
40
|
30 kW
|
| ||
|
Keskipakopumppu 30kW 1450rpm
Tuotenumero:
S180F31TBBT+F
Kopioitu!
|
Keraaminen, SIC, Viton
|
|
|
34
|
|
SS 316
|
400/690V
|
SS 316
|
DN150 PN16
|
Valurauta
|
6 bar
|
130 °C
|
360 m³/h
|
1450 rpm
|
|
|
40
|
30 kW
|
| ||
|
Keskipakopumppu 30kW 1450rpm
Tuotenumero:
S180F31TBBT
Kopioitu!
|
Keraaminen, SIC, Viton
|
|
|
34
|
|
SS 316
|
400/690V
|
SS 316
|
6"
|
Valurauta
|
6 bar
|
130 °C
|
360 m³/h
|
1450 rpm
|
|
|
40
|
30 kW
|
| ||
|
Keskipakopumppu 22kW 1450rpm
Tuotenumero:
S201G31T
Kopioitu!
|
Keraaminen, SIC, Viton
|
|
|
18,5
|
|
Valurauta
|
400/690V
|
Teräs
|
8"
|
Valurauta
|
|
70 °C
|
480 m³/h
|
1450 rpm
|
|
|
57mm
|
22 kW
|
| ||
|
Keskipakopumppu 22kW 1450rpm
Tuotenumero:
S201G31T+F
Kopioitu!
|
Keraaminen, SIC, Viton
|
ASA125 8"
|
|
18,5
|
|
Valurauta
|
400/690V
|
Teräs
|
DN200 PN16
|
Valurauta
|
|
70 °C
|
480 m³/h
|
1450 rpm
|
|
|
57mm
|
22 kW
|
| ||
|
Keskipakopumppu 22kW 1450rpm 278x75/268x75
Tuotenumero:
S201F31T
Kopioitu!
|
Keraaminen, SIC, Viton
|
|
|
18
|
|
SS 316
|
400/690V
|
SS 316
|
8"
|
Valurauta
|
6 bar
|
70 °C
|
480 m³/h
|
1450 rpm
|
|
|
57
|
22 kW
|
| ||
|
Keskipakopumppu 22kW 1450rpm 278x75/268x75
Tuotenumero:
S201F31T+F
Kopioitu!
|
Keraaminen, SIC, Viton
|
ASA125 8"
|
|
18
|
|
SS 316
|
400/690V
|
SS 316
|
DN200 PN16
|
Valurauta
|
6 bar
|
70 °C
|
480 m³/h
|
1450 rpm
|
|
|
57
|
22 kW
|
| ||
|
Keskipakopumppu 22kW 1450rpm
Tuotenumero:
S201F31TBBT
Kopioitu!
|
Keraaminen, SIC, Viton
|
|
|
18
|
|
SS 316
|
400/690V
|
SS 316
|
8"
|
Valurauta
|
6 bar
|
130 °C
|
480 m³/h
|
1450 rpm
|
|
|
57
|
22 kW
|
| ||
|
Keskipakopumppu 22kW 1450rpm
Tuotenumero:
S201F31TBBT+F
Kopioitu!
|
Keraaminen, SIC, Viton
|
|
|
18
|
|
SS 316
|
400/690V
|
SS 316
|
DN200 PN16
|
Valurauta
|
6 bar
|
130 °C
|
480 m³/h
|
1450 rpm
|
|
|
57
|
22 kW
|
| ||
|
Keskipakopumppu 18,5kW 960rpm
Tuotenumero:
S220G31T
Kopioitu!
|
Keraaminen, SIC, Viton
|
|
|
16
|
|
Valurauta
|
400/690V
|
Teräs
|
8"
|
Valurauta
|
|
70 °C
|
500 m³/h
|
960 rpm
|
|
|
72mm
|
18,5 kW
|
| ||
|
Keskipakopumppu 18,5kW 960rpm
Tuotenumero:
S220G31T+F
Kopioitu!
|
Keraaminen, SIC, Viton
|
ASA125 8"
|
|
16
|
|
Valurauta
|
400/690V
|
Teräs
|
DN200 PN16
|
Valurauta
|
|
70 °C
|
500 m³/h
|
960 rpm
|
|
|
72mm
|
18,5 kW
|
| ||
|
Keskipakopumppu 18,5kW 960rpm
Tuotenumero:
S220F31T
Kopioitu!
|
Keraaminen, SIC, Viton
|
|
|
16
|
|
SS 316
|
400/690V
|
SS 316
|
8"
|
Valurauta
|
6 bar
|
70 °C
|
500 m³/h
|
1450 rpm
|
|
|
72
|
18,5 kW
|
| ||
|
Keskipakopumppu 18,5kW 960rpm
Tuotenumero:
S220F31T+F
Kopioitu!
|
Keraaminen, SIC, Viton
|
ASA125 8"
|
|
16
|
|
SS 316
|
400/690V
|
SS 316
|
DN200 PN16
|
Valurauta
|
6 bar
|
70 °C
|
500 m³/h
|
1450 rpm
|
|
|
72
|
18,5 kW
|
| ||
|
Keskipakopumppu 18,5kW 1450rpm
Tuotenumero:
S220F31TBBT
Kopioitu!
|
Keraaminen, SIC, Viton
|
|
|
16
|
|
SS 316
|
400/690V
|
SS 316
|
8"
|
Valurauta
|
6 bar
|
130 °C
|
500 m³/h
|
1450 rpm
|
|
|
72
|
18,5 kW
|
| ||
|
Keskipakopumppu 18,5kW 1450rpm
Tuotenumero:
S220F31TBBT+F
Kopioitu!
|
Keraaminen, SIC, Viton
|
|
|
16
|
|
SS 316
|
400/690V
|
SS 316
|
DN200 PN16
|
Valurauta
|
6 bar
|
130 °C
|
500 m³/h
|
1450 rpm
|
|
|
72
|
18,5 kW
|
| ||
|
Keskipakopumppu 55kW 1450rpm
Tuotenumero:
S230F31T
Kopioitu!
|
Keraaminen, SIC, Viton
|
|
|
36
|
|
SS 316
|
400/690V
|
SS 316
|
8"
|
Valurauta
|
6 bar
|
70 °C
|
540 m³/h
|
1450 rpm
|
|
|
72
|
55 kW
|
| ||
|
Keskipakopumppu 55kw 1450rpm
Tuotenumero:
S230F31T+F
Kopioitu!
|
Keraaminen, SIC, Viton
|
|
|
36
|
|
SS 316
|
400/690V
|
SS 316
|
DN200 PN16
|
Valurauta
|
6 bar
|
70 °C
|
540 m³/h
|
1450 rpm
|
|
|
72
|
55 kW
|
| ||
|
Keskipakopumppu 55kw 1450rpm
Tuotenumero:
S230F31TBBT
Kopioitu!
|
Keraaminen, SIC, Viton
|
|
|
36
|
|
SS 316
|
400/690V
|
SS 316
|
8"
|
Valurauta
|
6 bar
|
130 °C
|
540 m³/h
|
1450 rpm
|
|
|
72
|
55 kW
|
| ||
|
Keskipakopumppu 55kw 1450rpm
Tuotenumero:
S230F31TBBT+F
Kopioitu!
|
Keraaminen, SIC, Viton
|
|
|
36
|
|
SS 316
|
400/690V
|
SS 316
|
DN200 PN16
|
Valurauta
|
6 bar
|
130 °C
|
540 m³/h
|
1450 rpm
|
|
|
72
|
55 kW
|
|
Valitse tuote listalta.
Jonne Kaarela