BERNSTEIN
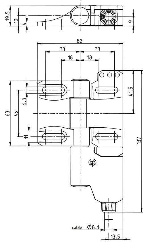
Bernstein SHS3-turvasaranakytkimessä on ruostumattomasta teräksestä valmistettu sarana, joka on liitetty muovirunkoiseen kytkinkoteloon. Rakenteensa ja materiaalinsa takia SHS3-turvasaranakytkin soveltuu ovien ja luukkujen valvontaan vaativissakin käyttöympäristöissä (esim. elintarvike- ja sahateollisuus jne.). Mallistossa on useita eri kosketinvaihtoja. Liitännät joko kiinteällä kaapelilla tai M12-liittimellä. Varastostamme myös sarana ilman turvarajatoimintoa.
Kytkentäpiste on säädettävissä 0-270°. Kytkentäpiste on myös tarvittaessa mahdollista asettaa kokonaan uudelleen. Verrattuna perinteisiin turvarajakytkimiin (kielirajat tai kosketuksettomat), Bernstein SHS3 on käytännössä lähes mahdotonta ohittaa. Täydellisen kahdennuksen saavuttamiseksi voidaan asentaa molemmiksi saranoiksi turvarajalla varustettu sarana.
Kytkentäesimerkki: sähköinen ja mekaaninen kahdennus |
|
Saranan kytkentäpiste on säädettävissä 0-270° |
|
Asennustapa 1 | Asennustapa 2 |
|
|
| Sarana voidaan asentaa myös oven ja |
Kytkentäpisteen asetus | |
| 1. Kiinnitetään saranat oveen/ |
| 2. Valitaan haluttu kytkentäpiste |
| 3. ja kiristetään kytkinyksikössä |
| 4. Erikoispulttia kiristetään kunnes |
| 5. Kytkentäpistettä voidaan |
Kätisyys vaihdettavissa helposti ja nopeasti.

| Asennus | oikea |
|---|---|
| IP-luokka | IP67 |
| Kaapelin pituus | 5000 mm |
| Koskettimet | 1 NO, 2 NC |
| Liitännän sijainti | Alhaalla |
| Max. käyttölämpötila | 70 °C |
|---|---|
| Min. käyttölämpötila | -25 °C |
| Rungon materiaali | Ruostumaton teräs |
Bernstein SHS3-turvasaranakytkimessä on ruostumattomasta teräksestä valmistettu sarana, joka on liitetty muovirunkoiseen kytkinkoteloon. Rakenteensa ja materiaalinsa takia SHS3-turvasaranakytkin soveltuu ovien ja luukkujen valvontaan vaativissakin käyttöympäristöissä (esim. elintarvike- ja sahateollisuus jne.). Mallistossa on useita eri kosketinvaihtoja. Liitännät joko kiinteällä kaapelilla tai M12-liittimellä. Varastostamme myös sarana ilman turvarajatoimintoa.
Kytkentäpiste on säädettävissä 0-270°. Kytkentäpiste on myös tarvittaessa mahdollista asettaa kokonaan uudelleen. Verrattuna perinteisiin turvarajakytkimiin (kielirajat tai kosketuksettomat), Bernstein SHS3 on käytännössä lähes mahdotonta ohittaa. Täydellisen kahdennuksen saavuttamiseksi voidaan asentaa molemmiksi saranoiksi turvarajalla varustettu sarana.
Kytkentäesimerkki: sähköinen ja mekaaninen kahdennus |
|
Saranan kytkentäpiste on säädettävissä 0-270° |
|
Asennustapa 1 | Asennustapa 2 |
|
|
| Sarana voidaan asentaa myös oven ja |
Kytkentäpisteen asetus | |
| 1. Kiinnitetään saranat oveen/ |
| 2. Valitaan haluttu kytkentäpiste |
| 3. ja kiristetään kytkinyksikössä |
| 4. Erikoispulttia kiristetään kunnes |
| 5. Kytkentäpistettä voidaan |
Kätisyys vaihdettavissa helposti ja nopeasti.

TopWorx GO Switch tarjoaa huoltovapaan toimintavarmuuden, yksinkertaisen toimintaperiaatteen ja pettämättömän varmuuden olosuhteissa, joissa tavalliset rajakytkimet eivät enää riitä.
Tarjoamme laadukkaita Bernsteinin ja Comepin rajakytkimiä, jotka erottuvat innovatiivisilla ominaisuuksillaan ja lyhyillä toimitusajoilla. Lue lisää!
Ei paristoja, ei johtoja, ei rajoitteita. Sarjaan on saatavissa raja-, köysi- tai jalkakytkin sekä painonappi ja painonappikotelo. Toimilaite yhdistetään langattomasti releyksikköön, josta saadaan releulostulo. Yhteen releeseen voidaan yhdistää jopa 28 toimilaitetta.
Bernstein mekaanisten kytkimien ja jalkapolkimien kosketinvaihtoehdot. Tutustu!
Bernsteinin klassikkosarjat I88, ENK ja ENM2 siirtyvät historiaan. Tilalle tulevat IN65, IN73 ja MN78, joissa luku sarjan lopussa kertoo rungon korkeuden. Kaikissa sarjoissa on samat innovatiiviset ominaisuudet.
Bernstein esittelee uudet rajakytkinsarjat teollisuuskäyttöön. Muovi- ja metallirunkoiset sarjat täydentävät uudistuneen rajakytkinperheen, josta aiemmin on esitelty yleisrajakytkin IN65.
|
|
|
|
|
|
||
|---|---|---|---|---|---|---|
|
|
|
|
|
|
||
|
|
|
|
|
|
||
|
|
|
|
|
|
||
|
|
|
|
|
|
||
|
|
|
|
|
|
||
|
|
|
|
|
|
| Suosikit | Tilausnumero: | Asennus | IP-luokka | Kaapelin pituus | Koskettimet | Liitin | Liitännän sijainti | Rungon materiaali | Hinta | |
|---|---|---|---|---|---|---|---|---|---|---|
|
Turvasaranakytkin SHS3, 2 NC+NO, 5 m kaapeli (ax), oikea
Tuotenumero:
601.9390.022
Kopioitu!
|
oikea
|
IP67
|
5000 mm
|
1 NO, 2 NC
|
|
Alhaalla
|
Ruostumaton teräs
|
| ||
|
Turvasaranakytkin SHS3, 2 NC+NO, 5 m kaapeli (ax), vasen
Tuotenumero:
601.9390.023
Kopioitu!
|
vasen
|
IP67
|
5000 mm
|
1 NO, 2 NC
|
|
Alhaalla
|
Ruostumaton teräs
|
| ||
|
Turvasaranakytkin SHS3, 2 NC+NO, M12-liitin (ax), oikea
Tuotenumero:
601.9390.034
Kopioitu!
|
oikea
|
IP67
|
|
1 NO, 2 NC
|
M12, 6-napainen
|
Alhaalla
|
Ruostumaton teräs
|
| ||
|
Turvasaranakytkin SHS3, 2 NC+NO, M12-liitin (ax), vasen
Tuotenumero:
601.9390.035
Kopioitu!
|
vasen
|
IP67
|
|
1 NO, 2 NC
|
M12, 6-napainen
|
Alhaalla
|
Ruostumaton teräs
|
| ||
|
Turvasaranakytkin SHS3, 2 NC, M12-liitin (ax), oikea
Tuotenumero:
601.9390.040
Kopioitu!
|
oikea
|
IP67
|
|
2 NC
|
M12, 4-napainen
|
Alhaalla
|
Ruostumaton teräs
|
| ||
|
Sarana SHS3, ilman kytkintä
Tuotenumero:
601.9390.038
Kopioitu!
|
|
|
|
|
|
|
|
|
Valitse tuote listalta.
Joni Henninen